by
G. M. Dodge
President
Dodge’s Telegraph,
Railway Accounting
and Radio (Wireless) Institute
Seventh and Revised Edition
Valparaiso, Indiana
1921
Copyright 1921
G. M. Dodge
My experience in the telegraph field began in the year 1887 when I entered the railroad telegraph service of the Pennsylvania lines at a small station in Indiana. After a limited period in the railroad work I enlisted in the commercial telegraph service, and I have been in the latter field for about thirty-two years.
In 1891 I began to train young men and women in practical telegraph work, but always felt that my efforts—no matter how persistent—were rather futile, inasmuch as I had no reference book to which I could refer my students and which would be easy for them to comprehend. I made diligent inquiry for a comprehensive book of this kind, but failing, I, in the fall of ’98, mustered the courage to undertake the work myself.
In the preparation of this work I have endeavored to use terms which are simple, concise and comprehensive. I find there have been numerous and valuable volumes written and published upon telegraphy, but all of these which have come to my notice lacked that simplicity which is so essential for a student wholly unacquainted with the work. I have kept the thought constantly before me that my readers one and all belong to the uninitiated class of telegraphers. Notwithstanding this I am convinced, from the numerous testimonials I have received from telegraph operators in the service, that the work is also appreciated by many of them as a book of reference.
I wish to thank a number of my telegraphic friends and acquaintances, and especially the officials of the American Railway Association of New York, for the courtesies extended in assisting me in this, the seventh edition of The Telegraph Instructor.
G. M. D.
The word “Telegraph”, strictly defined, means “To write afar off.” Webster defines it as “An apparatus, or a process, for communicating intelligence rapidly between distant points, especially by means of preconcerted visible or audible signals representing words or ideas, or by means of words and signs, transmitted by electrical action.” There are numerous types of the telegraph, but the one most commonly used in this country is “The Electro-Magnetic Telegraph”; electricity producing the force or magnetism which is given to the Electromagnet.
It is claimed that the force of electricity was discovered several hundred years before Christ, but that no attention was given it in particular for some sixteen centuries afterwards. Very little is known of its force except that it seems to travel with almost incredible rapidity and that all metallic agencies connected are charged instantaneously. Distance proves no barrier except that it requires a stronger productive force.
This book will treat strictly of “The Electro-Magnetic Telegraph”, this being used almost exclusively in both railway and commercial telegraphy.
Any person, of whatsoever age, can learn telegraphy and become a telegraph operator, but the best time to undertake the study is between the ages of fifteen and twenty-eight years.
Telegraphy is not, as a great many are led to believe, a complicated or difficult study to understand. The apparatus employed is quite simple and readily understood, but the student should bear in mind that nothing is attained without an effort; he should give his undivided attention to all that is connected with the work; he should endeavor to familiarize himself with the principle involved in the production of the current, and the application of the current to both railway and commercial telegraphy. It is suggestive for a student, after he has mastered that which is essential for him to obtain in order to become a telegraph operator, to indulge in the principles of the science as applied or connected with the more complicated apparatus of the telegraph.
The successful telegraph operator today is the one who has applied himself diligently and made an effort to master the details of the work. As to the successful class I refer more particularly to those who have left the actual telegraph service and have better and higher positions, among whom are many presidents, general managers and other high officials of railways, bankers, brokers and retired men of wealth.
It is too true that there are many operators who enter the service in their early life and remain in that capacity the balance of their lives. Invariably it will be found that these operators have never made any effort to advance themselves, but are seemingly content with doing their daily routine of work. If these same men had applied themselves diligently in their early life they could likely have become prominent railway and telegraph officials or be holding other important positions.
It is not necessary that one possess a college education in order to become a successful telegrapher and secure these higher positions. A college education does most certainly equip one for these duties in a better way, but there are indeed few of the successful telegraphers, to whom I have referred, who have ever attended a college. Nothing more than a common school education is necessary for one to become successful in the telegraphic work, and this with diligence properly applied will bring the desired reward.
The beginning operator should, on taking his first position, bear in mind that the corporation employing him is dependent in part upon his efforts and he should be solicitous for their welfare and always discreet and ever alert. His occupation will yield the greatest and best results with a constant application and willingness to work. His success depends largely upon the thorough mastery of the details. A telegraph operator’s work is in a measure complex and it is necessary for him to realize that the efficiency of the service depends upon his efforts.
A railroad operator should cooperate with the train dispatcher and the train men in assisting the quick dispatch of trains over the railroad. He should be prompt to answer his call, be on the lookout for trains and keep the train dispatcher posted as to the different conditions that may arise, always feel free to make suggestions which will be beneficial to the service. He should keep his telegraph instruments well adjusted, batteries clean; watch the connecting mediums between wires, batteries and instruments; keep hooks clear of all messages to be sent and delivered, and the office clean. He should bear in mind that other operators are entitled to the same wire privileges. He should never be inconsistent in using the wire; nothing will demonstrate an operator’s newness more than persistent contention for the circuit.
While the rules as set forth in the book of instructions issued from headquarters should always be observed, there are instances when one’s judgment will lead him into variance, and few, if any, officials will take exception when the motive has been toward better results.
Promotion will invariably come to those who follow the foregoing suggestions.
The Morse code of signals as applied to the telegraph is used exclusively in the United States. It consists of a dot and a dash, the former being an instantaneous closing of the key, while the key is held for the latter. Examples: dot (·), dash (–).
| a | ·– |
| b | –··· |
| c | ·· · |
| d | –·· |
| e | · |
| f | ·–· |
| g | ––· |
| h | ···· |
| i | ·· |
| j | –·–· |
| k | –·– |
| l | — |
| m | –– |
| n | –· |
| o | · · |
| p | ····· |
| q | ··–· |
| r | · ·· |
| s | ··· |
| t | – |
| u | ··– |
| v | ···– |
| w | ·–– |
| x | ·–·· |
| y | ·· ·· |
| z | ··· · |
| & | · ··· |
| 1 | ·––· |
| 2 | ··–·· |
| 3 | ···–· |
| 4 | ····– |
| 5 | ––– |
| 6 | ······ |
| 7 | ––·· |
| 8 | –···· |
| 9 | –··– |
| 0 | — |
| period [ . ] | ··––·· |
| comma [ , ] | ·–·– |
| interrogation | –··–· |
| exclamation [ ! ] | –––· |
| paragraph [drop a line] | –––– |
The following punctuation, etc., are not those of the Morse code, but have been compiled by Mr. Walter B. Phillips, ex-president United Press, and are in use at the present time:
| colon [ : ] | –·– · · |
| colon dash [ :– ] | –·– ·–·· |
| colon quotation [ :“ ] | –·– ··–· |
| semi-colon [ ; ] | ··· ·· |
| hyphen [ - ] | ···· ·–·· |
| dash [ — ] | –·· ·–·· |
| beginning quotation [ “ ] | ··–· –· |
| ending quotation [ ” ] | ··–· –·–· |
|
apostrophe [ ’ ] or quotation within a quotation [ “ ‘ ’ ” ] |
··–· ·–·· |
| beginning parenthesis [ ( ] | ····· –· |
| ending parenthesis [ ) ] | ····· ·· ·· |
| brackets ( [ ] ) | –··· ·–·· |
| capitalized letters | ·· · ·–·· |
| italics or underline | ··– ·–·· |
| dollars [ $ ] | ··· ·–·· |
| cents [ ¢ ] | ·· · |
| decimal point [ . ] | · |
| pound sterling [ £ ] | ····· ·–·· |
| shilling mark [ / ] | ··–– |
| pence [ d ] | –·· |
[To be used for all general public service radio communication. (1) A dash is equal to three dots; (2) the space between parts of the same letter is equal to one dot; (3) the space between two letters is equal to three dots; (4) the space between two words is equal to five dots.]
| a | ·– |
| b | –··· |
| c | –·–· |
| d | –·· |
| e | · |
| f | ··–· |
| g | ––· |
| h | ···· |
| i | ·· |
| j | ·––– |
| k | –·– |
| l | ·–·· |
| m | –– |
| n | –· |
| o | ––– |
| p | ·––· |
| q | ––·– |
| r | ·–· |
| s | ··· |
| t | – |
| u | ··– |
| v | ···– |
| w | ·–– |
| x | –··– |
| y | –·–– |
| z | ––·· |
| ä (German) | ·–·– |
| á or å (Spanish-Scandinavian) | ·––·– |
| ch (German-Spanish) | –––– |
| é (French) | ··–·· |
| ñ (Spanish) | ––·–– |
| ö (German) | –––· |
| ü (German) | ··–– |
| 1 | ·–––– |
| 2 | ··––– |
| 3 | ···–– |
| 4 | ····– |
| 5 | ····· |
| 6 | –···· |
| 7 | ––··· |
| 8 | –––·· |
| 9 | ––––· |
| 0 | ––––– |
| Period | ·· ·· ·· |
| Semicolon | –·–·–· |
| Comma | ·–·–·– |
| Colon | –––··· |
| Interrogation | ··––·· |
| Exclamation point | ––··–– |
| Apostrophe | ·––––· |
| Hyphen | –····– |
| Bar indicating fraction | –··–· |
| Parenthesis | –·––·– |
| Inverted commas | ·–··–· |
| Underline | ··––·– |
| Double dash | –···– |
| Distress Call | ···–––··· |
|
Attention call (to precede every transmission) |
–·–·– |
| General inquiry call | –·–· ––·– |
| From (de) | –·· · |
| Invitation to transmit (go ahead) | –·– |
| Warning—high power | ––··–– |
|
Question (please repeat after …) —interrupting long messages |
··––·· |
| Wait | ·–··· |
| Break (Bk.) (double dash) | –···– |
| Understand | ···–· |
| Error | ········ |
| Received (O.K.) | ·–· |
|
Position report (to precede all position messages) |
– ·–· |
| End of each message (cross) | ·–·–· |
|
Transmission finished (end of work) (conclusion of correspondence) |
···–·– |
The electric current is generated through the battery or other electric-producing force, and while many authorities fail to agree as to its specificness, it is easy to understand that it is the life of the telegraph.
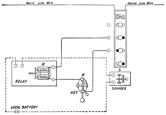
The following cut will illustrate two different stations of a single Morse circuit, with main line and local batteries, keys, relays, sounders and ground plates for the return of the current in a grounded or earth circuit. “R” represents a relay which has a double coiled electromagnet; “A” is a small piece of iron called the “armature” of the relay, placed close to the end of the electromagnet, which is supported in its upright position by the lever “L”, which is securely attached, and which is pivoted at its base. “S” represents the sounder; “LB” the local battery.

The Main Line Circuit
The wire from the earth at “E” leads to the main line battery “MLB”, thence to one of the posts or legs of the key “K”, thence from the other post or leg of the key to one of the main line binding posts of the relay “R”, thence from the other main line binding post of the relay to the wire to the air, or main line wire, thence to the relay, key, main line battery and the ground, whence the circuit is completed in the earth.
It will be observed in the previous article that the main line has no connection with the local circuit; the latter is governed entirely by the vibrations of the bar or armature in the relay, and perhaps to make this clearer it could be said “that the armature and lever of the relay are to the local circuit what the key is to the main line circuit.” It is understood that in opening and closing a key it magnetizes and demagnetizes the cores of iron in the relay, thereby affecting the armature and lever in same.

The above cut should clearly illustrate the manner in which a wire is brought into a one-wire switchboard, and its connection with a full set of instruments in an office.
There are three instruments essential for each set, viz.: the transmitting key, the relay, and the sounder.
The function of the key is to open and close the circuit, i.e., to make and break the circuit, so as to produce the dots and dashes as required in a code of signals. Strictly defined, it is a mechanical device which is manipulated by the hand for transmitting “matter” over a wire or circuit. Its principal feature is a metallic lever upon a trunnion supported by screws on the elevated sides.

Beneath the base are two metallic legs which extend through the table upon which the key is placed. These legs hold the key firmly to the table and connect with the two ends of the wire. The front leg and the lip are separated from the base of the key by non-conducting material. On the top and in the center of this post is fastened a small piece of platina. Directly above this, on the under side of the lever, is another piece of platina. A spring is used so that the two platina points are separated whenever the hand leaves the key. The circuit closer is a metallic arm attached to the base of the key so that it can slide under the lip, thus keeping the wire electrically connected while the key is not in use. The finger pieces of both the lever and the circuit closer are of non-conducting material in order to prevent the operator from receiving an electrical shock.
The Relay is connected with both the main line and local circuits. Its chief use is for resistance. It has a bar or armature so arranged as to be free to move when acted upon by its electromagnet, and which when moved closes the local battery circuit through the sounder, which is also connected with the relay.

It has two electromagnets and four binding posts, two of the latter being connected with the electromagnets, and known as the “main line binding posts”, while the remaining two are the “local posts”, being connected with the armature and the frame or yoke over the electromagnets and armature.
The Box Relay is an ordinary relay, the electromagnets of which, as will be noticed in the cut, are covered by a wooden box.

Its armature is usually some larger than one upon an ordinary relay; this, together with its wooden box covering, which serves as a sounding board, makes it desirable where a sounder cannot be conveniently used. Sounders can, however, be attached to the box relay. A box relay usually has a key upon the same base.
The Sounder consists of two electromagnets with an armature attached to a movable lever. The lever has a spring attached for the purpose of drawing the armature away from the magnets when the circuit is open and the cores in the electromagnets demagnetized. It is regulated by two adjustable screws, one of which checks the movement towards the magnets, while the other limits the reverse movement.

The sounder has a connection with the local circuit only. Its connections are attached to the two local posts of the relay and the two poles of the local battery.
Note.—Perhaps, to make this latter paragraph clearer, it might be added that on a circuit of fifty instruments, should forty-nine of these detach their sounder and local battery, the remaining one would not be aware of it. It would not affect the main line circuit.
The Electromagnet consists of a small core of iron (about the size of an ordinary lead pencil) wrapped evenly with a great many feet of fine insulated wire, all of which is covered by a vulcanized rubber cap.

When the extreme ends of this wire are connected with the poles of the battery or other productive electrical force, the core of iron instantly becomes magnetic and continues so as long as the current continues. This magnetism is produced in the core by the insulated wire which is wrapped around it. The core is magnetized by closing the circuit, or demagnetized by opening the circuit.
The “play” of the key should always be free, the upper platina point striking the under one with preciseness, and these should be kept free from rust or dirt. In commenting upon the “play” of the key it is not intended that either extreme should be employed. Perhaps it would be suggestive to say that the distance between these points should equal the thickness of three to five pieces of ordinary writing paper. On a circuit with a light battery, or should the climatic conditions be such as to give an escape of the current on a wire, it is all the more necessary that the adjustment of this instrument be loose so that all force may be brought to bear on the platina points. The lever is held to its position by the set screws on the sides of the trunnion. These latter, as well as the set screw on the end of the lever, together with the set screw attached to the spring, are all adjustable and are provided for the adjustment of the key.
The Relay is undoubtedly the most difficult of all ordinary telegraph instruments to adjust. It is necessary that the armature lever on this instrument, which has a platina point on both sides, stand perpendicular and the platina point to the right set against a similar point on the set screw immediately above the electromagnets when the circuit is closed, while the platina point to the left should set against the point of non-conducting material on the set screw to the left when the circuit is open. From one-sixteenth to three-sixteenths of an inch is usually suggestive for the necessary “play” of the armature lever between these two set screws and points. At the extreme right of the relay is attached a large adjustable turn screw to regulate the electromagnets and to govern the distance between the armature and the electromagnets. The electromagnets must never be brought so close to the armature as to prevent a good contact between the platina point on the armature lever and the same point on the set screw immediately above the electromagnets, neither should they be drawn so far away from the armature as to prevent the magnetism in them from acting upon the lever of the armature. Perhaps it would be unwise to suggest a distance in this connection. I have seen this adjustment from one-thirty-second up to fully three-eighths of an inch. The battery or other productive electrical force, and climatic conditions, necessitate this difference of adjustment. The spring, which is regulated by a large turn screw at the extreme left of the relay, also assists materially in the adjustment of the instrument. The purpose of the spring is to draw the armature away from the platina point on the set screw immediately above the electromagnets when the main line circuit is open and the cores in the electromagnets demagnetized, thereby at the same instant opening the local circuit.
The adjustment of the sounder is in a sense similar to that necessary in the relay, with the exception that the distance between the armature and the electromagnets is usually normal, the circuit attached being only local and not subject to a variance of resistance as produced by climatic or other conditions. One thickness of ordinary writing paper should “play” freely between the armature and the electromagnets. Two adjustable set screws are provided for this purpose, while two others at the side hold the lever in its proper place.
It is by the chemical action in the battery that the electric current is generated, and in practical telegraphy this is made to traverse long or short distances through the conducting medium of a metallic wire and by means of the described instruments made to give out tangible signals which, being arranged in the form of an alphabet, enable communication to be held for a long distance.
There are many types of batteries, but the Gravity (more specifically known as the crow-foot), as shown in the cut, is almost universally used throughout the United States for telegraphic purposes. During the last few years, however, dynamos are being introduced into the larger offices and are supplanting the gravity battery to some extent.

The gravity battery consists of a glass jar, a zinc and a copper. The zinc is known as the “negative” pole, while the copper is known as the “positive” pole of the battery. In arranging this battery the leaves of the copper should be spread, and placed at the bottom of the jar and about one and a half pounds of blue vitriol placed around them. The zinc should be extended from the top of the jar, and the jar filled with water within one inch of the top—the zinc always being covered with water. It will usually require from two to four days for a battery so arranged to work up to its full strength. The circuit to which it is attached should be closed in order that it may do this. On the other hand, the circuit should be opened to strengthen a battery that is in use, or to save the battery. Heat will cause rapid evaporation of the battery solution and cold retards the action of the battery, the best results being obtained in moderate temperature.
On account of the zinc dissolving and the vitriol becoming decomposed it is necessary to clean a battery at intervals of from two to four months. This should be done by taking out the zinc carefully, scraping off the adhering matter and washing well. Save the clean part of the solution, pouring into a clean vessel, remove the copper and thoroughly wash the jar, after which replace the copper and put in more vitriol. The clean liquid should then be poured back into the jar, adding enough water to make the battery complete as previously suggested, and the zinc returned to its proper place.
No water should be allowed to remain on the outside of the jar. It is a good plan to rub with a dry cloth the outside of the jar each day. This will require but a few minutes time for a number of cells and it will enhance the appearance, as well as the results, of the battery.
To complete a circuit it is necessary that the outgoing pole of a battery at one end of the line be connected with the opposite pole at the other end. For instance, on a wire between New York and Chicago there would be a series of “main line batteries” at each city, and it is necessary that the positive pole of the one “series” be connected with the negative pole of the other. The line wire will connect the inside poles of these batteries, while another wire, or something to answer its purpose, must connect the outside poles of the “series”. It has been found that the earth, on account of its great moisture, will serve the purpose of a returning wire, and it is used on lines of any distance for a return wire.
Mention is made of the use of a wire as the medium for conducting a current of electricity from one pole of a battery to any given point and thence back to the opposite pole, thus making a circuit.
Certain substances are found to conduct electricity with more or less facility (these substances are known as conductors), while through other matter no current whatever will pass. The latter substances are known as “non-conductors” or insulating bodies.
The principal materials used for conductors are copper, iron, brass and platina, and for insulation gutta percha, hard and soft rubber goods, glass, silk and cotton fiber, dry wood, bone and porcelain. In conducting currents of electricity from one point to another, as in telegraphy, it is found necessary to use nonconductors, wherever the wire is fastened, for support, in order to prevent an escape of the current. For this purpose glass is generally used for outside work and hard and soft rubber or porcelain tubes where the wires pass through window casing. The copper or “office wire” is usually covered with a coating of gutta percha or cotton fiber. For the handles or knobs to the various instruments, which require manipulation, hard rubber is generally used.
The switchboard is used for connecting the main line circuits or wires with the instruments. Each telegraph office is supplied with a switchboard and through this any wire which is “cut in” to that office may be connected with any instrument in that office. The Western Union pin-plug switchboard, as shown in the following illustration, is the one most commonly used. Another type, known as the “spring jack”, as shown on page 25, is being used in connection with the “pin-plug” board in large and testing offices, while one wire “cut-outs” are frequently used in offices having but one wire.
On the front of the Western Union pin-plug switchboard are two perpendicular bars for each wire. Between these bars are rows of discs, which have no connection with the perpendicular bars except when the metallic pin is inserted, but are connected horizontally with each other by a metallic strap on the rear of the board, with the exception of the bottom row. Each disc and each perpendicular bar has a semi-circular hole in its edge, so that the pin-plug inserted will connect both the horizontal straps on the back and the perpendicular bars on the front of the board. The ground wire usually has its connection with the top row of discs and this row is covered by the lightning arrester. The latter has no connection with the perpendicular bars under it. The distance between the perpendicular bars and the lightning arrester should be equal to two thicknesses of an ordinary piece of writing paper. The function of the lightning arrester is to prevent injury from lightning to the instruments.

Note.—The above illustration shows a six-wire Western Union pin-plug switchboard with plugs inserted as would be done in cutting in four of the wires to a similar number of instruments; two of the wires, the fourth and sixth from the left of the illustration, being “cut through”.
The main line wires, or the wires that come into the office from outside, frequently called air wires, are connected to the top binding posts, which are a part of the perpendicular bars, while the wires leading from the instruments have their connection with the side binding posts, the horizontal straps, and the rows of discs. In connecting an instrument through the switchboard it is necessary that both horizontal straps, which lead to the instruments, and both perpendicular bars, which lead to the main line, be on the same circuit and this must be done by inserting two pin-plugs diagonally.
Another valuable service which is rendered through the switchboard is the cross connecting and patching of wires. This is done by arranging the pin-plugs in the required order.
The following illustrations will indicate, with notes immediately below the diagrams, the plan that should be followed in making various switchboard connections with a three wire (six strap) Western Union pin-plug switchboard.

No. 1 wire cut in on instrument A.
No. 2 wire cut in on instrument B.
No. 3 wire cut through at bottom of board.

No. 1 wire west grounded and cut in
on instrument A.
No. 1 wire east grounded and cut in on instrument
B.
(Ground wire leads from main battery.)
No. 2 wire cut through at bottom of board.

No. 1 and No. 3 wires cross
connected below instrument wires.
No. 2 wire cut in on instrument A.
Arrows show path of current.

No. 1 wire cut in on instrument C.
No. 2 wire cut in on instruments A and B.

No. 1 wire east to No. 2
wire west cut in on instrument A.
No. 1 wire west to No. 3 wire east cut in on
instrument B.
No. 2 wire east and No. 3 wire west left
open.
“X”—To cut out instruments and leave patches in,
move plugs marked X as shown by dotted line.

No. 1 wire cut in on instrument A.
No. 2 wire cut in on instrument B and local loop.
(Instrument C not in use.)
To cut out instrument B and leave loop in, move plug as
marked “X”.

No. 1 wire west to No. 2
wire east on instrument A.
No. 2 wire west to No. 3 wire east straight
across below instrument wires.
No. 1 wire east and No. 3 wire west left
open.

No. 1 wire west grounded and cut in
on instrument A.
No. 1 wire east grounded and cut in on instrument
B.
No. 2 wire cut through at bottom of board.

No. 1 wire west to No. 2
wire east cut in on instrument A.
No. 1 wire east grounded and cut in on instrument
B, by using vacant bar.
No. 2 wire west left open.
The following illustration represents a four-wire board; the main-line wires being connected to the top binding posts and a wedge with cord attached extending to the instruments, being inserted in the jacks, which have spring attachments.

The advantage in the use of this board is the fact that two or three instruments can be quickly and easily attached to a circuit. These boards, as stated in the preceding article, are used to a great extent in connection with the Western Union pin-plug switchboard.
In addition to the purpose which the ground wire serves at terminal points, each “way” or intermediate telegraph office is also provided with one which is attached to the switchboard. The function of this wire, at way or intermediate offices, however, is only for testing purposes and in cases of interruption of the circuit, to notify the chief or testing operator regarding it and to receive his instructions.
It consists of a wire attached to an iron rod driven in the ground several feet, or to a gas or a water pipe, these two being preferable. Any of these should be deep enough to be free from frost, and always in contact with the moist earth.
Note.—If a ground wire be inserted at Indianapolis on a Chicago and Cincinnati wire it would divide the line into two independent circuits, one from Chicago to Indianapolis and one from Indianapolis to Cincinnati, and form a common conductor for each circuit. In this case, however, there must be a main line battery at both Chicago and Cincinnati in order to produce a current on each circuit.
The art of transmitting or sending, in the writer’s opinion, is of greater importance than that of receiving. The student should bear in mind that accuracy and not rapidity is the qualification needed in sending. Speed should be attained unconsciously. Untiring efforts should be employed to master accurately letters or characters which are difficult.
Many are of the opinion that sending is easily attained, while receiving is the more difficult. The facts are to the contrary, as few who become proficient in sending fail to become equally as good in receiving. A number, however, who receive well are poor at sending. This inefficiency can usually be attributed to a failure in observing the elementary principles.
One should never send faster than one can receive.
Take an easy and graceful position, always sitting erect and facing the key. Place the first and second fingers on the farthest part of the key-button with the thumb under the edge, curve the first and second fingers so as to form a quarter section of a circle, partially close the third and fourth fingers but do not allow them to touch the table.

Rest the arm on the table at the elbow. The grasp of the fingers and thumb upon the key should be firm but not rigid and should never leave the key (while sending).
The wrist should be perfectly limber. The motion should be directly up and down, avoiding all side pressure. The movement should be from the wrist and forearm and not from the fingers; the fingers are used only for a leverage. The fingers, wrist and arm, however, should all move in the same direction.
The downward movement (closing the key) produces the dots and dashes, while the upward movement (opening the key) produces the breaks and spaces.
A dot (·) is made by a single, instantaneous downward stroke of the key. A dash (–) is made by holding the key down as long as it would take to make two dots. A long dash, as used in the letter “l” or the numeral “cipher”, should be made by holding the key down as long as it would take to make three and four dots respectively.
The length of a space or a break in a letter that contains the same should be equivalent to one dot, i.e., the letter “o” should require the same time as the letter “s”, the letter “c” or “r” the same time as the letter “h”, the letter “y”, “z” or “&” the same as the letter “p”.
In letters that do not contain spaces or breaks the dots and dashes should follow each other closely.
The alphabet should be attained theoretically.
Learn the movement by making dots and dashes slowly, taking the dots first, making one each second, then two and three each second. Afterward undertake the dashes in the same way.
Note.—The great advantage in attaining the movement by making dots and dashes instead of the letters is in the fact that one’s mind is taxed with nothing else, while with the letters the mind is usually concentrated upon the formation of them.
| e | · |
| i | ·· |
| s | ··· |
| h | ···· |
| p | ····· |
| 6 | ······ |
| o | · · |
| c | ·· · |
| r | · ·· |
| y | ·· ·· |
| z | ··· · |
| & | · ··· |
| t | – |
| l | –– |
| m | –– |
| 5 | ––– |
| 0 | ––– |
| a | ·– |
| u | ··– |
| v | ···– |
| 4 | ····– |
| n | –· |
| d | –·· |
| b | –··· |
| 8 | –···· |
| f | ·–· |
| g | ––· |
| j | –·–· |
| k | –·– |
| q | ··–· |
| w | ·–– |
| x | ·–·· |
| 1 | ·––· |
| 2 | ··–·· |
| 3 | ···–· |
| 7 | ––·· |
| 9 | –··– |
| period [ . ] | ··––·· |
| comma [ , ] | ·–·– |
| interrogation [ ? ] | –··–· |
| exclamation [ ! ] | –––· |
| paragraph [drop a line] | –––– |
| dollars [ $ ] | ··· ·–·· |
| cents [ ¢ ] | ·· · |
| dash [ — ] | –·· ·–·· |
| colon [ : ] | –·– · · |
| colon dash [ :– ] | –·– ·–·· |
| colon quotation [ :“ ] | –·– ··–· |
| semi-colon [ ; ] | ··· ·· |
| hyphen [ - ] | ···· ·–·· |
| dash [ — ] | –·· ·–·· |
| beginning quotation [ “ ] | ··–· –· |
| ending quotation [ ” ] | ··–· –·–· |
|
apostrophe [ ’ ] or quotation within a quotation [ “ ‘ ’ ” ] |
··–· ·–·· |
| beginning parenthesis [ ( ] | ····· –· |
| ending parenthesis [ ) ] | ····· ·· ·· |
| brackets ( [ ] ) | –··· ·–·· |
| capitalized letters | ·· · ·–·· |
| italics or underline | ··– ·–·· |
| pound sterling [ £ ] | ····· ·–·· |
| shilling mark [ / ] | ··–– |
| pence [ d ] | –·· |
| decimal point [ . ] | · |
The letter j should be formed as tae, k as ta, q as ue, x as ai. The numeral 1 as we, 2 as ui, 3 as ve, 9 as tu. The period as ud, comma as aa, interrogation as tue, beginning quotation as qn, ending quotation as qj, beginning parenthesis as pn, ending parenthesis as py, brackets as bx, hyphen as hx, dash as dx, colon as ko, semicolon as si, colon-dash as kx, colon-quotation as kq, capitalized letters as cx, dollar mark as sx, cents as c, decimal point as dot, italics or underline as ux, apostrophe, or quotation within a quotation, as qx, pound sterling as px, shilling mark as ut, pence as d.
Aim, buy, care, dove, easy, farm, good, hill, ice, jot, keep, life, many, none.
“Every cloud has a silver lining.”
“Time and tide wait for no man.”
“A rolling stone gathers no moss.”
86, 921, 3,255, 72,400, 856,000.
The comma or a space should be employed in dividing numerals into thousands.
The abbreviations hnd, tnd, mln or myn are frequently used in transmitting numbers containing a string of ciphers. Examples.—700 as “7 hnd”; 15,000 as “15 tnd”; 18,000,000 as “18 mln”.
Note.—When these abbreviations are used, however, the receiving operator will write them in numerals, the same as if they had been sent in that way.
1/8 1/2 2/5 3/7 1/16 3/32
In fractions a dot (the letter “e”) represents the bar of division; hence the fraction 1/2 would be transmitted 1 e 2, 3/32—3 e 32.
3.7, 32.57¾, $1.12, $18.07½.
The decimal point is transmitted by spelling out the word “dot”.
Uniformity of space is highly essential for correct sending. This is applicable to the characters in letters and between letters and words.
I have found in my experience that a great majority of beginners are inclined to put the characters in letters too closely together, thereby creating a style of “jerk sending”, which is bad in the extreme. This style of sending is deceptive, inasmuch as the student imagines he is attaining speed when he is, in fact, retarding his speed.
Due caution should be exercised in transmitting words which contain either all dot letters or a number of them together; the following words as well as a great number of similar ones should be made slowly and distinctly: Erie, error, choice, & Co., piece, price, bicycle, voice.
A decided distinction should also be made wherever the letter “t” follows the letter “l”, or vice versa, as in the words: alternate, altogether, altitude, or in the words: atlas, battle, title.
Whenever an error is made in sending, the interrogation mark should be used as a “break”. If the error has been made on the first letter of a word, repeat the word immediately preceding it; if on any other letter, repeat only the word in which the error has been made.
The abbreviation “msk” for mistake is used in addition to the interrogation mark “?” when some other word than that which appears upon the copy has been sent.
Punctuation in the transmission of messages, train orders, etc., is somewhat different from the way it would appear in print. The period is seldom used except at the beginning of the body of a message or train order. The comma is invariably used to serve the purpose of the period at the end of sentences, while the comma, as it would appear in print, is omitted.
Punctuation marks are not transmitted after abbreviations. Examples: Mr., Mrs., No. Dak., N.Y., and D.C.
All of the letters and characters should be well memorized before receiving is undertaken, and then someone who can make these accurately should send slowly and the one receiving name each letter as sent until he is able to call them rapidly. Then words should be taken and these called as sent, later on sentences and eventually it is unnecessary for the receiver to name anything as sent, but more than one set of instruments should be used, and the receiver should “break”, if he fails to get all, by opening the key and have the sending operator repeat from the last word he received. The different forms of train orders, messages, etc., should then be learned, adopting a systematic plan for the attainment of all.
The student should endeavor to copy behind, i.e., to memorize from one to three words of the matter that is being sent and copy it afterwards. While many operators attain a great proficiency in this respect, it is ordinarily quite difficult for the student. Its attainment will require a great deal of practice.
Do not be ashamed to break. Do this a dozen times in one message or train order rather than make one error.
It is not necessary to sign your office call when breaking, except when two or more offices are copying.
When breaking in train orders, should you miss in the order number, say—“no”; in the address, say—“to”; in the beginning of the body of the order, say—“period (.)”; in the body or text, give the last word received.
When breaking in commercial messages, should you miss in the message number say—“no”; in the check, say—“ck”; in the name of the place from which it was sent, say—“fm”; in the state, say—“state”; in the date, say—“date”; in the name of the addressee, say—“to”; in the street number, or in the name of the party in whose care addressed, give last word or number received; in the beginning of the body or text, say—“period (.)”; in the body or text, give the last word received; in the signature, say—“sg”. Should you fail to receive a message after a portion or all of it had been transmitted, or in case you make a “bull” in your copy which would necessitate its repetition, say—“g a ahr”.
Plain and legible handwriting is essential for a telegrapher. Ornamental styles, graceful and shaded curves are entirely unnecessary and should be avoided. Make the letter in the shortest length practicable and without curves where it is possible to retain the contour of the letter without it. It is suggestive to use what is known as the muscular movement, and the grasp upon the penholder should be only enough to control it. Do not cramp the fingers. Always cross the letter “t” and dot the letter “i”. While rapidity in writing is essential, accuracy should receive the first consideration.
Each office has its call, which will consist of not more than two letters.
Each operator will have a personal signal, which will consist of one or two letters; sometimes letters and figures in large offices.
It is customary, in calling an office, to call continually and sign your own office call after every third call. The office called in answering will say “II” and his office call. An exception to this rule can be made with larger offices when an operator is known to be at the instrument continually. In this case give the office desired one call, sign your own call and close the key.
If an instrument connected with a wire, which is usually busy, remains quiet for any great length of time, the key of the same should be opened and closed in order to ascertain if the wire is open or closed. If found to be open, insert the plug into the disc of the strap in the switch board which is connected with the ground wire, thereby ascertaining in which direction the trouble is from your office. If no circuit is obtainable, that is, if the instrument does not respond (after letting down the spring of the relay) cut this wire through at the bottom of the board and connect in another circuit, which is closed, with that instrument. If the experiment opens this wire also, it would indicate that the trouble was in the instrument and not in the wire. A diligent search for the trouble in this instrument should then be made and no wire cut in on it until repaired.
The circuit should never be retained by leaving the key open except in extreme cases of emergency. Whenever an operator is called away from the wire to answer telephone, wait on a customer, or for some similar reason, it should be explained as follows: if to answer telephone, say “ex me fone”; if to wait on a customer, “ex me counter”; if to deliver train orders, “ex me trn”; if to speak to some one, “ex me talk”, etc., but the key should not be left open.
Great care should be taken, especially in stormy weather, when opening a key it does not take the circuit from others who might be using it. Owing to the fact that wires are so susceptible to climatic conditions, an office in using the circuit will occasionally be interrupted by another office, which is not adjusted, taking the circuit. In a case of this kind the one interrupted will use the signal “8”, until he believes that office to be adjusted, in an endeavor to keep the one interrupting off the circuit. In extremely bad weather relays should be given a great deal of attention in the way of adjustment.
Whenever one is asked to “sine” he should give his office call, and if he is asked “wo” he should give his personal signal.
All offices hearing the “os” signal, when it is given in the nature of a call, should answer with their own call. Usually in this case they will be told to “copy” and invariably they will receive a “general message” addressed to “all agents”, “all operators”, or to some other particular class of employes. Each operator in giving an “OK” to a message of this nature will give his office call in addition to his personal signal.
If one’s instruments fail to work properly, he should ask the operator, with whom he is working, to “dot”, which would be done until the one who had asked him to do this had adjusted his instruments, and breaking in he would use the signal “OK” and, if the receiving operator, name the last word he received; if the sending operator, he would use the signal “4”. Faults of this nature may be with the wire or the instruments connected with it.
Whenever an operator is busy, either with a wire or elsewhere, and cannot answer a call, which is being given him on another wire, he should, if possible, take the time to answer the other wire, first opening the key of the wire which he is working and then going to the one which is calling him, give the signal “25”, adding his office call. He should be careful to make this signal distinct, so that the one to whom he has given it will understand it and not mistake the signal for an answer to his call. If the one called does not know which office is calling him he would, before giving the signal, ask the office calling him to “sine”. After finishing with the one with which he was working, he would go to the wire which had called him and call them inquiring as to what they wanted, by using the signal “5” and his office call. He would not, however, break in on the circuit to do this.
Whenever the sending operator is in doubt as to whether or not the receiving operator is copying that which he is sending, he will say at the conclusion of a message or a sentence within it, “bk u tr”, or “u tr”, and if the receiving operator is copying that which is being sent him he will answer by saying “i”, sometimes adding his office call.
Whenever in receiving a message someone else on the circuit, who is inclined to be meddlesome, should break, asking the sender to repeat from a stated word, and this not being the receiver, which of course would be umknown to the sender as he would have every reason to believe that the one who broke was the operator at the office with which he was working, in instances of this kind the receiving operator should immediately take the circuit and say “nt me” or “nt hr”.
Whenever a receiving operator in repeating back a train order or message is told by the sending operator that a word is in error, he should open his key, correct the error, and repeat the copy as corrected. The receiving operator should never allow the sending operator to repeat any further than is necessary to correct an error, but should open his key as soon as the sending operator has covered the part in error. The sending operator, when correcting in this instance, should transmit the word or part in error distinctly and slowly.
The word “wire” may be used by wire chiefs when locating wire trouble, and it has preference over all other business on any circuit. The signals “grn”, “stx”, “corn”, “govt”, and “cable” denote very important business. The signals “grn” and “stx” may be used for speculative messages, but in no way relate to cars of grain or stock. The signal “corn” may be used to make a correction in a message which has been previously transmitted. The signal “govt” may be used for transmitting messages pertaining to official business of the government. The signal “cable” may be used for transmitting cablegrams.
In taking the circuit from others it should be done so far as possible between their messages. This will avoid confusion and possible errors. Offices interrupted by any circuit signal have the next right to the circuit.
2, very important.
4, where shall I go ahead?
5, anything?
8, close your key and stop breaking.
9, calling for train orders.
13, understand?
18, what’s the trouble?
19, train order.
22, busy on another wire.
25, busy on another wire.
31, train order.
55, important.
73, best regards.
92, deliver.
Note.—Other numerical signals are used by different railroads for different purposes, for instance, the signal “47” upon some railroads means “display signals”; while the signal “48” means “signals are displayed”. The numerals “9” and “12” are frequently used for “correct”. Other numerals are used for the different officials’ messages, agents’ messages, etc.
Abbreviations are usually made by dropping the vowels; some, however, are quite arbitrary. They are used chiefly for wire conversations.
An abbreviation may be used in one sentence when it cannot in another. One should avoid using too many of the arbitrary ones together, for instance, “r r” for “are our”, or “for our”.
The letters “d”, “n” or “ng” can be used for the affixes “ed”, “en” or “ing”.
“Art”, “OK” and “I” are used for acknowledging verbal instructions, meaning the same as “yes sir” in the English language.
Abbreviations inclosed in quotations will indicate that the same could not always be understood in wire conversations, but are applicable to certain or special lines of work.
abandoned, abnded
abbreviation, abbn
about, abt
acknowledge “x” (use in train orders only)
account, acct
action, actn
address, ads
afternoon, PM
agent, agt
Alabama, Ala
Alberta, Alta
all right, art
always, alwas
amount, amt
and others, “et al”
annulled, annld
another, ahr (or) anr
answer, ans
any, ay
anything, aytng (or) 5
April, Apl (or) Apr
are, r
Arizona, Ariz
Arkansas, Ark
arrive (or) arrived, “a”
ascertain, ascrtn
assist or assistant, asst
Assistant General Freight Agent, AGFA
Assistant General Passenger Agent, AGPA
attention, attn
attorney, atty
August, Aug
avenue, ave
“B”, Block (used in block system only)
back, bk
baggage, bage
Baltimore, Balto
barrel, brl (or) bbl
battery, baty
be, b
become (or) became, becm
been, bn
before, b4
better, btr
between, betwn
bill-lading, “BL”
black, blk
blanks, blnx
block, blk
board, bd
body, bdy
book, buk
bought, bot
boulevard, blvd
bound, bnd
brakeman, brkmn
break, brk
British Columbia, BC
brought, brot
Buffalo, Bflo
building, bldg
bushel, bu
business, biz
but, bt
by, bi
California, Calif
can, cn
Canada, Can
cancel former order, CFO
cannot, cnt
captain, capt
cashier, cashr
cavalry, cav
cent, ct
charge, chg
check, ck
Chicago, Chgo
Chief, Chf
Christmas, Xmas
Cincinnati, Cinti
circuit, ckt
clear, clr
clerk, elk
Cleveland, Cleve
coal and water, C&W
collect, coll
collect on delivery, COD
Colonel, Col
Colorado, Colo
combination, combn
come (or) came, cm
coming, cmg
commercial, coml
Commercial News Department, CND
commission, comsn
company, co
complete, comp (or) “cm”
compliments, 73
conductor, condr
conductor and engineer, C&E
Connecticut, Ct (or) Conn
connection, conctn
copy, cy
correct, O.K.
correction, “corn” (used only as a wire signal)
cost, insurance and freight, “CIF”
could, cld
credit, cr
crossing, xng
day, da
day press rate, DPR
dead head, DH
debit, dr
December, Dec
decrease, dec
Delaware, Del
democrat, dem
deliver, 92
delivery, dely
delivery charges guaranteed, dely chgs gtd
depart (or) departed, “d”
Despatcher, Despr
destroy, bust
Detroit, Det
did, dd
difference, dif
dinner, dinr
disregard former service, DFS
district, dist
District of Columbia, DC
division, div (or) divn
Doctor, Dr
don’t, dnt
double deck, DD
doubt, dbt
down, dwn
dozen, doz
duplicate, dup
east, e
election, elec
empty, em (or) mt
engine, eng
engineer, engr
England, Eng
enough, enuf
errors and omissions excepted, “E&OE”
Esquire, Esq
every, evy
excursion, excn
excuse, ex
ex-dividend, Xd
express, ex
extra, exa
factory, facty
favor, fvr
February, Feb
few, fu
Florida, Flo
for, r
foreign, forgn
forward, fwd
free on board, FOB
freight, frt
Friday, Fri
from, fm (or) fr
General, Genl
General Baggage Agent, GBA
General Freight Agent, GFA
General Passenger Agent, GPA
Georgia, Ga
get, gt
give better address, GBA
give some address, GSA
go ahead, GA
go ahead arrival, GAA
go ahead departure, GAD
gone, gn
good, gd
good afternoon, PM
good evening, GE
good morning, GM
good night, GN
gossip, “guff”
got, gt
government, govt
Governor, Gov
grain, grn
great, grt
ground, gnd
ground wire, gw
guaranteed, gtd
guess, gs
half, hf
hardware, hdw
has, hs
have, hv
hear (or) here, hr
high, hi
Honorable, Hon
household goods, HH Gds
how, hw
how is, hws
hundred, hnd
Idaho, Ida
Illinois, Ill (or) Ills
immediately, immy
important, impt (or) 55
incorporated, inc
increase, inc
Indiana, Ind
Indianapolis, Indpls
Indian Territory, Ind Ty
instant, inst
instrument, instmnt
insurance, ins
Iowa, Ia
January, Jan
junction, jct (or) junc
junior, jr
Justice of the Peace, JP
Kansas, Kans (or) Kas
Kentucky, Ky
knew, nu
knocked down, “kd”
know, no
language, lang
laugh, ha ha
learn, lrn
leave, lv
letter, ltr
Lieutenant, Lt
light, lite
limited, ltd
loads, lds
local, loc
look, luk
loop, lup
Louisiana, La
low, lo
lumber, lbr
machinery, machy
made, md
magazine, mag
main, mn
Maine, Me
Major, Maj
majority, maj
make, mk
manager, mgr
manifest, mfst
manifold, mfld
Manitoba, Man
manufacture, mfr
manufacturing, mfg
many, mny
March, Mar (or) Mch
marked, mkd
market, mkt
Maryland, Md
Massachusetts, Mass
Master Car Builder, MCB
matter, mtr
May, Ma
Member of Congress, MC
merchandise, mdse
message, msg
messenger, msgr
Mexico, Mex
Michigan, Mich
might, mite
mile, mi
(mill), typewriter
million, mln (or) myn
Milwaukee, Milw
Minneapolis, Mpls
Minnesota, Minn
minute, min
Mississippi, Miss
Missouri, Mo
mistake, msk (or) bull
mistaken, mskn
Mister, Mr
Mistress, Mrs
Monday, Mon
Montana, Mont
more, mo (or) mr
morning, mng (or) AM
much, mch
namely, viz
near, nr
Nebraska, Nebr
necessary, necy
Nevada, Nev
never, nvr
new, nu
New Brunswick, NB
Newfoundland, NF
New Hampshire, NH
New Jersey, NJ
New Mexico, N Mex
New York, NY
night, nite—(red)
night press rate, NPR
none between, nb
north, n
North Carolina, NC
North Dakota, N Dak
Northwest Territories, NWT
not, nt
nothing, ntg
Nova Scotia, NS
November, Nov
now, nw
no more, nm
no such number, NSN
number, no
o’clock, k
October, Oct
of, o
office, ofs
Ohio, O
OK, correct
Oklahoma, Okla
Ontario, Ont
on time, ot
opening, opg
operator, opr
opinion, opn
order, ord
Oregon, Org
OS, all offices take notice
other, or
our, r
“out” (of no account)
out, ot
owner’s risk, “OR”
package, pig
paid, pd
pair, pr
passenger, passer
pay, pa
Pennsylvania, Pa (or) Penn
peoples, peon
Philadelphia, Phyla
pink (rush)
Pittsburg, Pugh
please, pals
pound, lb
precinct, pact
preferred, pfd
president, presto (or) pt
Prince Edward Island, PEI
principal, prin
prohibition, pro
proximo, proxi
Purchasing Agent, Pur Agt
Quebec, Que
quick, qk
quotation, qtn (or) tick
railroad, RR
railway, Ry
ready, rdy
rebate, reb
receipts, rects
received, recd
receiving, recg
red (nite)
refrigerator, refr
relay, rela
release, “rel”
relief, rlf
repeat, rept
report, rept
report delivery charges, rept dely chgs
republican, repn
Rhode Island, RI
right, rite
roast (a great number)
round, rnd
rush (pink)
said, sd
St. Louis, St L
St. Paul, St P
same, sm
Saskatchewan, Sask
Saturday, Sat
say, sa
second, sec
secretary, secy
section, secn
see, c
see former order, CFO
see former service, SFS
seen, cn
see your service, SYS
sending, sendg
September, Sept
Sergeant, Sergt
service, svc
several, svl
should, shld
siding, sdg
sight, site
sign, sine
signature, sig
signed, sined (or) sgd
single deck, SD
sir, sr
slow, slo
somehow, smhw
someone, sm 1
something, smtng
somewhat, smwt
somewhere, smwr
soon, sun
south, s
South Carolina, SC
South Dakota, SD
speak, spk
special, spl
special delivery guaranteed, spl dely gtd
Springfield, Spgfld
station, stn (or) sta
stay, sta
steamer, str
steam ship, SS
stock, stk (or) stx
stop for breakfast, sfb
stop for dinner, sfd
stop for night, sfn
stop for tea, sft
straight, strate
street, st
Sunday, Sun
Superintendent, Supt
supper, supr
suppose, spose
switch, sw
system, sys
take, tk
talk, tlk
tariff, tf
telegraph, tel
telephone, fone (or) phone
Tennessee, Tenn
Territory, Ty
Texas, Tex
thanks, tnx
that, tt
that is, tts (or) “ie”
the, t
their, tr
them, em
then, tn
there, tr
they, ty
thing, tng
think, tnk
this, ts
this morning, smng (or) ts AM
though, tho
thought, thot
thousand, tnd
through, thru (or) tru
Thursday, Thur
tierce, tc
today, toda
together, togtr
tomorrow, tomw
tonight, tonite
took, tuk
tough, tuf
track, trk
train, trn
Train Master, TM
transfer, tfr
Traveling Passenger Agent, TPA
Treasurer, Treasr
trouble, tbl
try, tri
Tuesday, Tues
typewriter (mill)
ultimo, ult
unchanged, unchgd
undelivered, undeld
understand, 13
United States of America, USA
Utah, U
Vermont, Vt
versus, “vs”
very, vy
Vice-President, VP
Virginia, Va
was, ws
Washington, Wash (or) Wn
water, wtr
way, wa
way bill, “WB”
weather, wtr
Wednesday, Wed
week, wk
were, wr
west, w
West Virginia, W Va
what, wt (or) ?
when, wn
where, wr
while, wile
why, wi
who, wo
will, wi
with, wi
Wisconsin, Wis
word, wd (or) w
work, wk
would, wld
write, rite
wrote, rote
Wyoming, Wyo
“x”, acknowledge (used in train orders only)
yard, yd
yes, es
yes sir, esr
yesterday, estrda
yet, et
you, u
young, ung
your, ur
Using Abbreviations in Railroad Telegraphy.
Q. Hw sun wi 1st 74 b rdy—How soon will 1st No. 74 be ready?
A. Sun as ty gt C&W—Soon as they get coal and water.
Q. Wr r ty gg r 9—Where are they going for No. 9?
A. SX—Wanatah (office call).
Q. Cld ty mk KA if I gv em 10 mins on 9—Could they make Hanna if I gave them 10 minutes time on No. 9?
A. Es r if 3rd 79 doesnt dela em at WS—Yes sir, if 3rd No. 79 does not delay them at Winslow.
Q. Is tt exa tr et—Is that extra there yet?
A. Cmg—Coming.
Q. Hw far off—How far off?
A. Abt 2 mi—About 2 miles.
Q. Let me no wn tr rdy—Let me know when they are ready.
A. OK—All right.
Exa rdy nw—Extra ready now.
Q. Ask em if ty cn mk HN bi 55 r 8—Ask them if they can make Inwood by 7:55 for No. 8?
A. Es r ty cn—Yes sir, they can.
Q. Hw much wk hs 93 to do tr et—How much work has No. 93 to do there yet?
A. Cnt sa tr dwn at east end of yd nw—Can’t say, they are down at east end of yard now.
Q. Wt ty doin dwn tr—What are they doing down there?
A. Gtg 2 mt gonds to set in at WS—Getting two empty gondolas to set in at Winslow.
Q. Let me no wn ty cm bk Id like to gt em over to SX r 38—Let me know when they come back, I would like to get them over to Wanatah for No. 38.
A. I—All right.
Q. Is 1st 76 cmg—Is 1st No. 76 coming?
A. Es r—Yes sir.
Q. Tell t condr to set off 2 mt refrs at V to b iced—Tell the conductor to set off two empty refrigerators at Valparaiso to be iced.
A. Art—All right.
Q. Tell em to tk full tnk tr, wtr plug is ot of order at SX—Tell them to take a full tank there, water plug is out of order at Wanatah.
A. I—All right.
Using Abbreviations In Commercial Telegraphy.
Q. 5 P—Have you anything for Plymouth?
A. Es r hrs a roast—Yes sir, here is a roast (a great number).
Q. Hw do u count East St L—How do you count East St. Louis?
A. 1 w—One word.
Q. Chf wnts to no wi it is so hard to raise u—Chief wants to know why it is so hard to raise you?
A. Local on ts string is bad Ill hv it fixed—Local on this string (wire) is bad, I will have it fixed.
Q. Wt ws ur last to us—What was your last number to us?
A. 28—Our last number to you was 28.
Q. Tr r no exa wds in tt sig—There are no extra words in that signature.
A. Es tts rite hold it Ill get it fixed—Yes, that is right, hold it and I will get it fixed.
Q. Hrs a combn spl 3 cys 1 city & 2 trus abt 3 hnd wds, shall I rept it—Here is a combination special, three copies, one city and two throughs, about 300 words, shall I report it?
A. Es u btr—Yes, you better.
Q. Wo—Who are you?
A. XN—(Operator’s personal signal.)
Q. U tr—Are you at the instrument?
A. I—Yes sir.
Using Abbreviations for Wire Testing.
Q. 18 on 42—What is the trouble on wire No. 42?
A. No ckt—No circuit.
Q. Which wa 74 open—Which way is wire No. 74 open?
A. E—East.
Gnd 42 w & tri me tr—Ground wire No. 42 west and call me there.
Tk it off & put 42 e to 74 w & tri me—Take it (ground wire) off and put wire No. 42 east to wire No. 74 west and call me.
Q. Tbl on 42 seems to b in ur bd luk at t conctns & c if ty r art—Trouble on wire No. 42 seems to be in your board; look at the connections and see if they are all right.
A. Tr OK—They are all right.
Q. Straten 42 & 74 sa wn—Straighten wires No. 42 and No. 74, say when.
A. Nw—Now.
Of Technical Terms Used in Railroad and Telegraphic Work
No other class of students, in my opinion, is more susceptible to the teacher’s interest in the work than those of telegraphy. For this reason, it is essential that the greatest interest be taken in the student’s progress. Especial interest should be taken in the student’s “copy”, and his “sending” frequently criticized. All the prescribed forms should be made clear. The success of the student will depend largely upon the interest his teacher takes in his work.
A school should have its course thorough, systematic, and complete. Accept one familiar line of railroading, the rules as adopted by the American Railway Association being preferable, and one line of commercial work, as adopted by the Western Union, Great Northwestern or Postal Telegraph Companies, and follow these throughout. As a matter of fact, suggestive thoughts will frequently present themselves, which are other than those spoken of, and these should be discussed and receive proper consideration, but one system of each branch of the work should be adhered to so far as possible.
The rules as recommended by the American Railway Association are used with slight variances on nearly every railroad and its form of train orders is commonly known as the “double order system”.
Car or engine numbers will not indicate the number of a scheduled train. Train numbers are usually imaginary and designated only by the time table.
All trains represented on the time table are numbered. Even numbers are usually east and north-bound, odd numbers west and south-bound.
Extra or wild trains are inferior to all regular trains of whatever class. The terms passenger, freight or extra, are not descriptive of the rights of trains, but are only inserted to indicate the way these classes are usually divided.
Even number trains have the right of way over odd number trains of the same class: i.e., No. 2 would have the right of way over No. 3.
Extras are designated by their engine numbers and may run “odd or even” in either direction.
The block signal should always be at red when an operator is on duty, except when changed to clear to allow a train to pass to which there is no order addressed, and which is not encroaching upon the time of a preceding train. It should be immediately returned to red as soon as the rear of the train has passed.
On single track, ask for orders, if you have none, for all except first-class trains, when they are approaching your station. Do this by “breaking in”, if necessary, on the train wire; for instance, if No. 72 should come into the operator’s sight at Hamlet, he would take the circuit and say, “H 5 r 72 HA” or “H 9 r 72 HA”. “H” represents the office call of the Despatcher, “5” anything, “r” for, “72” train number, “HA” office call of Hamlet. In the second instance “9” indicates train orders. Either of these figures “5” or “9” would be applicable except that the figure “5” could not be used where it is also used with the “Telegraph Block System”. The Despatcher’s reply would be “yes” or “no”. If the former, he would add “copy 19 (or) 31”, and if to be addressed and delivered to more than one train (3 copies), the number of copies he wished made in manifold, as “31 copy 7”, or “19 copy 5” (the conductor and engineman on each section of each train addressed receiving a copy, and the operator retaining one), and immediately call one or more offices, instructing them likewise. All offices to which the order would be addressed would copy it simultaneously from the Despatcher, each taking its proper address, otherwise the copy made by all would be the same. At the conclusion of the transmission of the order, the Despatcher would likely instruct the Hamlet operator to repeat it by saying “To HA GA H”—To Hamlet, go ahead—Despatcher’s office call. Hamlet would then repeat the order, giving the conductor’s and engineer’s signatures with his own initials if a “31” order. If a “19” order he would omit the conductor’s and engineer’s signatures, but would give his last name or initials as signature. He would add in conclusion “NM r em” or “NM r 72”—Any more for them—No. 72. The Despatcher would then complete the order by giving the word “complete”, the time of completion, and the Superintendent’s initials, and if he had no further orders, he would add “NM r em”, meaning—no more for them (72). The Hamlet operator would then deliver the order, and in case it would not encroach upon the time of a preceding train, set the block signal at clear, keeping it so until the rear end of the train had passed, when he would return it to its former position, red. If the Despatcher’s answer had been “No” to the operator’s first question, “H 5 r 72 HA”, and the operator had no orders for the train (which he should not have had and asked this question), the block signal would be immediately placed at clear and kept so until the rear of the train had passed. This, of course, is with the understanding that it would not encroach upon the time of a preceding train. If we assume that the Hamlet operator had an order for this train, before it came into sight, and it had not been repeated or a “complete” received upon it, he would take the circuit at an opportune time, and say “H 31 (or) 19 HA”—“31 (or) 19” indicating that he had an order that he wished to repeat and receive a “complete” from the Despatcher. The Despatcher would answer “I” or “GA”, either meaning—go ahead, and the routine followed would be the same as formerly spoken of.
In repeating a “31” train order, use the following form: order number, “No. —”, train addressed, “to —”, office call, period, body of the order, Superintendent’s initials, signatures of conductors and enginemen, and conclude with your own initials. In repeating a “19” train order, use the following form: order number, “No. —”, train addressed, “to —”, office call, period, body of order, superintendent’s initials and your last name or initials. The train Despatcher in completing an order will use the word “complete”, adding the hour and minute, and the Superintendent’s initials.
In acknowledging a train order, give the order number “No. —”, train addressed, “to —”, your office call, the letter “X” and your initials.
In using the “double order system”, an order is invariably addressed to a superior and inferior train and, in many instances, it is desirable that the inferior train receive its order before the same is completed and delivered to the superior train, but before the Despatcher can allow the delivery to be made to the inferior train, he must have an acknowledgment from the operator holding the order for the superior train. To illustrate, we will assume that an order is sent to No. 72 at Valparaiso and No. 71 at Wanatah, reading “No. 72 will wait at Valparaiso until ——M for No. 71”. As No. 72 is the superior train, an acknowledgment of the order from the operator at Valparaiso is necessary before a complete on the same can be given to the operator at Wanatah and the order delivered to No. 71. Owing to this, a brief form of acknowledgment is used, and the letter “X” serves this purpose. Assuming the number of the order spoken of to be “127”, the Valparaiso operator would acknowledge this by saying “127 to 72 V X JLH”, this done, the operator at Wanatah could repeat and receive a complete upon his order for No. 71, and No. 71, the inferior train, could then act upon the order. There are several advantages to be obtained by using this abbreviated form of acknowledgment. If it were not for this, it would have been necessary for the Valparaiso operator to have repeated the order, thereby consuming more time which No. 71 could employ in running. More than this, it is quite possible, if not probable, that No. 71 would arrive at Valparaiso before No. 72 would be ready for departure, making it unnecessary for the Valparaiso operator to deliver the order to No. 72. In this latter event, the Valparaiso operator would say to the Train Despatcher:
“No. 71 a—on sdg clr order 127 is NG to 72?” (“a”, arrived; “on sdg clr”, on siding clear—meaning clear of main track; “NG”, no good). The Despatcher would answer “OK 31 copy one” and send the following order:—“Order No. 133 to opr V. If No. 71 is clear order No. 127 is annulled.” The Valparaiso operator upon receiving this order would repeat it to the Train Despatcher in the regular way, signing his own name, whereupon the Despatcher would “complete” the latter order “No. 133”. The Valparaiso operator would then write across the face of order No. 127, “annulled by order No. 133”, and file together orders numbers 127 and 133, and allow No. 72 to proceed without the order. Operators are not permitted to bust or file orders without first receiving a “31” order to do so as shown in order No. 133 herewith.
As stated in a former paragraph it is not necessary to ask for orders for first-class trains. Place the semaphore at clear, when they are sighted, unless you have orders for them, and they are not encroaching upon the time of a preceding train, and leave it so until the rear end of the train has passed the office. If you have orders keep the red signal displayed until the orders are properly delivered.
Keep all trains running in the same direction the required time apart, except where some form of block system is used—no exceptions should be made to this rule. Trains running on “passenger” time should be at least 10 minutes apart, on “freight” time 5 minutes apart. A train running on “freight” time should not be allowed to follow a passenger train until 5 minutes after the departure of the passenger train. Trains running on “passenger” time should not be allowed to follow freight trains until 10 minutes after the departure of the freight train.
When reporting trains, give the departure only unless their stay has been quite extended. Report a first-class train at the time it is passing your office by saying “Now” for them; for instance, if No. 5 were passing the Plymouth office, the operator would take the circuit “breaking in”, if necessary, and say “H nw 5 P”, meaning——Despatcher—No. 5 passing now, and signing his office call. The Despatcher would reply by giving him the hour and minute as “6 42 H”. All other trains should pass the office 100 yards or more before reported and they should then be reported with the signal “OS”; for instance, in reporting the 2nd section of No. 81 out of Bourbon, the following form would be used: “OS OS H RN 2nd 81 d 3 18 RN”. “OS” is a signal for all offices to take notice, “H” Despatcher’s office, “RN” Bourbon office, “2nd 81” train reported, “d” departed, “3 18” the time, “RN” Bourbon office. When giving the arrival, insert the letter “a” and arriving time immediately before “d” and departing time, as “OS OS H RN 2nd 81 a 2 55 d 3 18 RN”. Whenever a failure to report a first-class train by the signal “Now” is made, the “OS” form will be substituted.
Where absolute block is used on double track you must, in order to admit a train to a “block”, first ascertain from the station in advance if all of the trains which have passed your station are clear of that block. For example, we will assume that your block station is Bourbon and No. 75 is approaching; you would take the circuit and signal the operator at Inwood, the next station west: “3 for No 75 RN” meaning—“3” block wanted, “No 75” number of train, “RN” your office call. The operator at Inwood would examine his block sheet and if block was clear would answer “2 for No 75 HN” meaning—“2” block clear, “No 75” number of train, “HN” his (Inwood’s) office call. You would then give No. 75 a clear signal immediately. Assuming that the block was not clear and No. 73, a preceding train, not having passed Inwood, the operator at Inwood would have answered, “5 of No 73 HN” meaning—“5” block is not clear, “No 73” number of train occupying the block, “HN” Inwood’s office call. In the latter case you as the operator at Bourbon would not give No. 75 a clear signal, but would hold them until the block was reported clear.
Where permissive block is used, the same method should be followed in ascertaining condition of the block, and if the Inwood operator should answer “5 of No 73” you as the operator at Bourbon would display a cautionary signal or issue a permissive card, thereby allowing No. 75 to proceed.
Where absolute block is used on single track, you, as the operator at Bourbon, would say to Inwood: “1 for No 75 RN”—meaning—“l” display stop signal, “No 75” number of approaching train, signing your office call. If the block was clear, operator at Inwood would answer, “2 for No. 75 HN” meaning—block is clear for No. 75, and signing his office call. That is, stop signal is displayed to all opposing trains in order to protect block at Inwood for No. 75, which is entering the other end of the same block at Bourbon. If the block was not clear, an opposing train having already passed Inwood, the operator at Inwood would have said, “5 of No 70 HN” meaning—“5” block not clear, “No 70” number of opposing train in block, “HN” Inwood’s office call. Upon receiving this information at Bourbon you would know that trains No. 75 and No. 70 were to meet at your station and you would immediately display stop signals in both directions until the trains had met and passed.
Where permissive block is used on single track for following movements, assuming that train No. 83 desires to follow No. 81, a train of similar class, in the same block, you as the operator at Bourbon would say to the operator at Inwood: “17 for No 83 RN” meaning—“17” display stop signal—train following, “No 83” the train following, “RN” your office call. The operator at Inwood would then reply: “5 of No 81, 13 for No 83 HN” meaning—that the block is not yet clear of train No. 81, but that he will display stop signal for train No. 83. You would then give train No. 83 cautionary signal or permissive card allowing it to enter the block.
As soon as a train enters the block at your station you report it, giving time to the next station in advance, using this form: “4 No 75, 720 RN” meaning—“4” train has entered block, “No 75” number of train, “720” the time, “RN” your office call. The operator at Inwood would acknowledge by giving his personal signal or office call, sometimes prefixing it with the signal 13; as “OK 13 HN”.
After the markers of a train have passed your block signal about 100 yards, report it to the office in the rear by saying: “2 of No 75 d 721 RN” meaning—that the block is clear of No. 75 at the time stated (7:21), and signing your office call. You also report time of each train’s departure to the Train Despatcher by using the usual OS form.
Railroad telegrams or messages are those which are sent and received by officials, agents and other employes connected with a railroad company, and pertain strictly to the business of that company. They are sent free of charge and no record is made of them. Checks are omitted and Deadhead franks or passes are not used to secure their transmission. They are concise and brief, and whenever practical the initials or last name only of the sender and addressee are used.
Requests are frequently made by the traveling public to stop passenger trains at points at which regularly no stop is made. When these requests are granted, a message is sent in triplicate to an office in advance of the station at which the train is to stop, addressed to the conductor and engineman, which is delivered to them after signing (the same as is done in a “31” train order), the operator retaining a copy.
Note.—Characters enclosed in parentheses ( ) are sent by the sending operator but are not copied by the receiving operator; while those enclosed in brackets [ ] are written by the receiving operator, but are not sent by the sending operator.
(a)
(Hr) KS MH [WR] (fm) Warsaw July 22
(to) CDL
H
(.) 2nd 71 set off PRR 71218 at Warsaw loaded with HH Goods for St. Paul on account of broken drawbar
(sig) Henry
[3 02 PM]
(b)
(Hr) H WR [MH] (fm) Wayne July 22
(to) FDW
KS
(.) 2nd 71 set off PRR 71218 at Warsaw account broken drawbar please repair and report when ready
(sig) HJK
[3 35 PM]
(c)
(Hr) KS MH [WR] (fm) Warsaw July 22
(to) HJK
H
(.) PRR 71218 now ready to go
(sig) Whitney
[6 11 PM]
(d)
(Hr) H WR [MH] (fm) Wayne July 22
(to) Maulsby Condr 79
KS
(.) Pick up PRR 71218 at Warsaw loaded forgn via Chgo
(sig) HJK
[6 30 PM]
The four preceding messages relate to a car of household goods which has been set off by a through freight train on account of a broken drawbar.
“Hr” is a signal invariably given before commencing any message. “KS” represents the sending office call in messages (a) and (c). “H ” represents the sending office call in messages (b) and (d). “MH” represents the sending operator’s personal signal in messages (a) and (c), and the receiving operator’s personal signal in messages (b) and (d). “WR” represents the sending operator’s personal signal in messages (b) and (d), and the receiving operator’s personal signal in messages (a) and (c). “Fm”—from. “To”—the address. “H”, the office call of the station addressed in messages (a) and (c); and “KS”, the office call of the station addressed in messages (b) and (d). “(.)” the period—the beginning of the body of the message. “Sig”—the signature. After the signature, the time message is received.
The call of the office sent to, the sending and receiving operators’ personal signals and the time sent should be written in a conspicuous place on each message sent. Example (as on the sending copy of message “a”): H MH WR 302 P.
701. The Train Master reports to and receives his instructions from the Superintendent.
It is his duty to take charge of the movement of the traffic; exercise supervision over the men employed on the trains, see that they understand and observe the rules, and suspend them when necessary for neglect of duty; in case of detention of trains by accident or obstruction, go to the place if necessary, take general charge of clearing the road, and see that proper precautions are taken to insure the safety of trains and property.
Assistant Train Masters, in the particular duties or districts assigned them, have the same authority as the Train Master, and will act for him in his absence, as may be directed.
702. The Station Master reports to and receives his instructions from the Superintendent.
He has charge of the passenger station where he is located, and of the persons employed therein.
It is his duty to see that the station and various apartments are kept in proper condition; preserve order about the station, and prevent confusion and delay in seating passengers and receiving and delivering baggage; and attend courteously to the comfort and wants of passengers, and see that the employes do the same. He must see that the cars in trains starting from his station are inspected, cleaned and properly equipped; that the Trainmen are ready for duty at the appointed time, with the necessary signals and other appliances, and that the trains are properly made up, and leave on time.
703. The Passenger Conductor reports to and receives his instructions from the Train Master. He must obey the orders of Station Masters and of the Ticket Receivers, and conform to instructions issued by the Accounting, Passenger and Treasury Departments.
He must report for duty at the appointed time, with his trainmen; assist in making up his train when necessary; see that the engine and train are supplied with full sets of signals; and ascertain that the cars have been cleaned, inspected and properly equipped, and that the brakes and other appliances are in proper order.
He must have a reliable watch and a copy of the Timetable; examine the General Order board before each trip; compare time with the Engineman before starting, and see that he has a copy of the Timetable.
He must show his train orders to his Flagman.
The Conductor is responsible for the movement, safety, and proper care of his train, and for the vigilance and conduct of the men employed thereon, and must report any misconduct or neglect of duty.
It is his duty to ascertain that passengers are provided with tickets, collect fare from those who are not, and put off, at a convenient station, any who refuse to pay fare; attend courteously to the comfort and wants of passengers, and see that his trainmen do the same; see that passengers are properly seated, and not allow them to ride on the platforms or in the baggage, express or mail cars, or violate, in any respect, the regulations provided for their safety; and maintain good order, and not allow drunken or disorderly persons to get on the train.
704. The Passenger Brakeman reports to and receives his instructions from the Train Master. While on duty he is under the direction of the Conductor. At stations he must obey the orders of Station Masters.
It is the duty of the Brakeman to attend to the brakes; be provided with, take care of and properly display train signals; attend to the lighting, heating and ventilation of the cars; open and close the car doors, and assist the Conductor in the proper disposition of passengers, and in preventing them from riding on the platforms, or in any way violating the regulations provided for their safety; in preserving order; and in all things requisite for the prompt and safe movement of the train and the comfort of the passengers.
He must report for duty at the appointed time; assist in making up his train if necessary; give polite attention to the wants of passengers, avoiding unnecessary conversation. When necessary to pass through sleeping cars, do so quietly, so as not to disturb passengers; announce at each stopping place the name of the station and the length of the stop if more than two minutes.
The post of the rear Brakeman (or Flagman) is on the last car of the train. He must immediately go back to protect the train in cases where the rules require it, without waiting for signal or instructions to do so. The front Brakeman must in like manner protect the front of the train when the Fireman cannot leave the engine; and if the train should part, the Flagman must immediately stop the rear portion and send forward the most reliable person he can secure to make stop signals until the front portion comes back, while he protects the rear.
705. The Baggageman reports to and receives his instructions from the Train Master. While on duty he is under the direction of the Conductor. At stations he must obey the orders of Station Masters. He must conform to the instructions issued by the Accounting and Passenger Departments.
It is his duty to receive, take care of and correctly deliver baggage carried on the trains; check baggage at stations where there are no Baggage Agents; collect, report and remit the proper charge for excess over the amount of baggage allowed each passenger; take charge of and promptly deliver letters and packages forwarded on railroad business or addressed to Officers or Agents; and attend to the heat and light in the baggage cars while on duty.
He must report for duty at the appointed time, handle baggage carefully; be civil and obliging to passengers, and remain in the baggage car while on duty, except when required to take the place of a Brakeman.
He must not carry letters, packages, money or other valuables not authorized by the regulations nor receive any perquisite for the transportation of any article except such as he may be authorized to take charge of, at fixed rates for special care; and he must not permit anyone to ride in the baggage car except mail agents, express agents and news agents, in the discharge of their duties.
706. The Yard Master reports to and receives his instructions from the Train Master.
He has charge of the yards, of the men employed, and the movement of trains and distribution of cars therein.
It is his duty to see that trainmen and engines are ready for duty at the appointed time; that trains are properly made up and leave on time; that Conductors are furnished with way bills for cars leaving; that way bills are received for cars arriving; that doors of loaded cars are properly secured; that cars are inspected, and those needing repairs sent to the shop; that cars are not unnecessarily delayed in the yard, and that records and reports are made in accordance with instructions.
He must be familiar with the rules of the freight service, and the duties of employes connected with freight trains; require the efficient discharge of those duties in his yard; and report all violations of the rules coming under his notice.
When signals are to be carried by trains for following sections, the Yard Master must see that this is done.
707. The Freight Conductor reports to and receives his instructions from the Train Master, and must obey the orders of Yard Masters.
The Conductor is responsible for the movement, safety and proper care of his train, and for the vigilance and conduct of the men employed thereon, and must report any misconduct or neglect of duty.
He must have a reliable watch and a copy of the Timetable; examine the General Order board before each trip; compare time with the Engineman before starting, and see that he has a copy of the Timetable.
He must report for duty at the appointed time with his trainmen; assist in making up his train when necessary; see that he has the proper way bills for the cars to be moved; see that the engine and train are provided with full sets of signals; see that the couplings and brakes are in good order before starting, and inspect them as frequently as opportunity permits; see that the Trainmen occupy their proper places on the train; handle freight with care, using every effort to prevent loss or damage; keep the car doors fastened, except when loading or unloading; and not permit unauthorized persons to enter the cars or handle freight or ride upon the train.
He must not move cars from stations without proper way bills and must see that the cars are in safe condition to be moved. When necessary to move the cars on station or loading tracks, he must see that persons loading or unloading cars thereon are notified before the cars are moved.
He must show his train orders to his Flagman.
708. The Freight Brakeman reports to and receives his instructions from the Train Master. He must obey the orders of Yard Masters. When on duty he is under the direction of the Conductor.
It is the duty of the Brakeman to attend to the brakes; be provided with, take care of and properly display train signals; assist the Conductor in loading or unloading freight, in inspecting the cars, and in all things necessary for the safe and prompt movement of the train.
He must examine and know for himself that the brake shafts and attachments, ladders, running boards, steps, hand holds and other parts and mechanical appliances which he is to use are in proper condition; if not, put them so, or report them to the proper parties and have them put in order before using.
He must report for duty at the appointed time and assist in making up his train.
When not engaged in duty elsewhere, the Brakeman must occupy the post assigned to him. The post of the rear Brakeman (or Flagman) is on the last car. He must immediately go back to protect the train where the rules require without waiting for signal or instructions to do so. The front Brakeman must in like manner protect the front of the train, when the Fireman cannot leave the engine; and if the train should part the Flagman must immediately stop the rear portion and send forward the most reliable person he can secure to make stop signals until the front portion comes back, while he protects the rear. An assisting engine on the rear is a part of the train and the Flagman will be governed accordingly.
Brakemen must stop their trains at stations and control them in descending heavy grades, without waiting for signal from the Engineman, and must be careful to avoid the sliding or heating of the wheels.
709. The Switch Tender reports to and receives his instructions from the Train Master. In yards he reports to and is under the direction of the Yard Master or Station Master.
It is the duty of the Switch Tender to operate the switches under his charge for trains using them; to keep the switches in good condition and clear of snow or other obstruction, and promptly report defects.
He must keep the switches secured for the main track, except when passing trains to or from another track, and must watch for approaching trains and give the Proceed-signal if all is right.
Where day and night switch tenders are employed, they must not leave their posts until relieved by each other, and the one going off duty must inform the one coming on of trains due which have not passed.
710. The Leverman reports to and receives his instructions from the Train Master. In yards he reports to and is under the direction of the Yard Master or Station Master. He must conform to the instructions of the Signal Supervisor and, if an Operator, to the instructions of the Division Operator.
It is the duty of the Leverman to operate the levers under his charge and to keep them in good condition. He must see that the switches are in good condition and clear of snow or other obstructions and promptly report defects.
He must keep the switches secured for the main track, except when passing trains to or from another track, and must watch for approaching trains and give the Proceed-signal if all is right.
Where day and night Levermen are employed, they must not leave their posts until relieved by each other, and the one going off duty must inform the one coming on of trains due which have not passed.
711. The Station Agent reports to and receives his instructions from the Superintendent and must conform to the instructions issued by the Passenger, Freight, Accounting and Treasury Departments.
A Station Agent at an important station is required to devote his time exclusively to the business of the Company. At less important points the Agent may be permitted to engage in other business when it does not interfere with the proper discharge of his duties.
The Station Agent has charge of the Company’s books and papers, and of the buildings, sidings and grounds at his station; and must preserve order in and about the station, and keep the buildings and grounds in proper condition.
It is his duty to attend to the sale of tickets and the receiving, delivering and forwarding of freight and collections for the same; see that cars are properly loaded or unloaded and forwarded; keep the accounts, and make reports and remittances in the manner prescribed.
He has charge of the employes at the station and must see that they perform their duties properly; promptly report to the Superintendent any misconduct or violation of the rules, and anything that is observed that is prejudicial to the Company’s interests or may interfere with the safe and economical working of the road.
He must advise the Superintendent of all local matters which may affect the interests of the Company.
He must not sell tickets to persons who are not in a condition to take care of themselves, or whose conduct might endanger their lives or make them a source of annoyance to others on the train.
He must see that cars left at the station have the brakes applied and are not moved by unauthorized persons, or shifted so as to interfere with the safety of trains.
712. The Baggage Agent reports to and receives his instructions from the Superintendent. He must obey the orders of the Train Master and of the Station Master or the Station Agent, and conform to the instructions issued by the Passenger and Accounting Departments.
It is the duty of the Baggage Agent to receive and check baggage, and deliver it to the Baggagemen on the trains; take charge of baggage unloaded at his station; handle baggage carefully; be civil and obliging to passengers, and require them to show their tickets before checking their baggage, in order to avoid errors in route or destination.
He must keep a supply of the necessary checks, secure them from theft or loss, and promptly return those belonging to other stations.
713. The Division Operator reports to and receives his instructions from the Superintendent. He must obey the instructions issued by the Superintendent of Telegraph.
He is responsible for the condition and proper working of the wires and instruments, the prompt transmission of messages, and the economical use of supplies.
He has charge of the Train Despatchers, Telegraph Operators and Linemen on his division; will direct them with regard to their duties, and see that they understand and obey rules, and are provided with the necessary signals and supplies.
714. The Despatcher reports to and receives his instructions from the Superintendent. He must obey the orders of the Division Operator.
It is his duty to issue orders for the movement of trains, in the name of the Superintendent; see that they are transmitted and recorded in the manner prescribed; and have a record kept showing the time each train passes each telegraph office, the time the Despatcher and the Operators in his office go on and off duty, and important incidents which occur while he is on duty.
A Despatcher to be relieved by another must not go off duty until so relieved, and he must explain, in writing, to the Despatcher relieving him, the train orders in force, and give other information necessary for his guidance.
In the absence of the Division Operator, the Despatcher is responsible for the deportment and discipline of the Operators.
Meeting orders must not be sent for delivery to trains at the meeting point if it can be avoided. When it cannot be avoided, special precautions must be taken by the Despatcher to insure safety.
An order which has been signed for must be made “complete” and delivered.
715. The Telegraph Operator reports to and receives his instructions from the Division Operator, and in his absence from the Despatcher. An Operator at a station must obey the instructions of the Station Master or Station Agent, when they do not interfere with his duties as Operator.
The Operator is required to be constantly on duty during the hours assigned him, and must not leave his office without permission. The office is in charge of the day Operator. Where two or more Operators are employed during the day or night, there must be always one on duty. Where both day and night Operators are employed, they must not leave their posts until relieved by each other, and those going off duty must inform those taking their places respecting unfinished business and the position of trains.
An Operator must not leave his office when a train is at the station, unless required by business connected with the train.
Each Operator must keep a register of the times at which trains pass his office, and such other offices as may be required; give particular attention to the adjustment of his instruments, and be ready at all times to receive train orders; in transmitting, receiving and delivering train orders conform to the prescribed rules; keep a full set of signals, in good order and ready for use, and use them in accordance with the rules; and observe the rear of trains and report at once to the Superintendent and the next telegraph office, if the proper signals are not displayed. When orders are sent for delivery to trains at the meeting point he must take special precautions to insure safety.
The Operator must be courteous in his intercourse with other Operators, and with persons transacting business at his office, and must use no improper language over the wire. He must not take students or leave his office in charge of another Operator, without permission; and must not permit employes or others to frequent his office. He must not receive messages to be transmitted free, unless signed by, or addressed to, an officer, agent or employe, and on each message sent and received must appear the date, the time, the signal and call of the Operator who sent and received it. He must preserve messages sent, and promptly deliver those received; and must consider all messages confidential, and not permit them to be read by any person except those to whom they are addressed, nor make their contents the subject of conversation or remark.
If the telegraph line fails at an office for an unusual length of time, the Operator must test the wires and report, if possible, on which side of his office the failure is. If it is at a point which the Lineman cannot reach promptly, the Operator must immediately notify the Track Foreman.
The telegraph is not to be used for the transmission of communications which may be sent by train without detriment to the Company’s interests, and the operator should report any such cases observed.
716. The Lineman reports to and receives his instructions from the Division Operator. He must obey the orders of the Chief Lineman.
It is his duty to keep the poles in proper position, the wires connected, insulated and clear of all obstructions, and make all necessary repairs, calling on the Track Foreman for assistance when required. He must keep a diagram and record of the wires, and changes in wires, on his Division.
He must frequently pass over the road and observe the condition of the telegraph line and the connections at the offices, and promptly report anything observed that may interfere with the proper working of the line.
He must always be provided with a full set of tools and be ready to respond immediately to any orders he may receive, and must supply the Operators and Track Foremen with wire and insulators, and instruct them in regard to splicing the wire and making other repairs. He must report each morning the part of the road he will be on during the day.
717. The Road Foreman of Engines reports to and receives his instructions from the Superintendent.
It is his duty to frequently ride upon the engines, instruct Enginemen and Firemen in regard to the proper performance of their duties and the economical use of fuel and stores; see that engines are in good working order and properly equipped; know the proper tonnage rating for each class of engines, and report whether more or less than this tonnage is given them; familiarize himself with the qualifications of Enginemen and Firemen, and report any violation of rules or neglect of duty which may come to his knowledge.
The Road Foreman of Engines must consult and advise with the Master Mechanic and Engine House Foreman respecting the condition and requirements of the engines, and with the Superintendent upon all matters relating to their economical and efficient operation.
718. The Engineman reports to and receives his instructions from the Road Foreman of Engines. He must obey the orders of the Train Master. He must obey the orders of Station Masters and Yard Masters as to shifting and making up trains, and those of Conductors as to starting, stopping and general management of trains, unless they endanger the safety of the train or require violation of rules. When at the engine house he is under the direction of the Engine House Foreman.
The Engineman must have a reliable watch, a copy of the Timetable and a full set of signals, examine the General Order board before each trip, and compare time with the Conductor of his train before starting.
He must report for duty at the appointed time; see that the engine is in good working order and furnished with the necessary supplies; give checks for fuel and stores received, and assist in shifting and making up the train.
He must exercise caution and good judgment in starting and stopping the train, and in moving and coupling cars, so as to avoid disturbance to passengers and injury to persons or property; keep a constant lookout on the track for signals and obstructions; acknowledge all signals except fixed signals; stop and inquire respecting any signal not understood, and report any neglect of duty observed; see that the front of the train is protected, when necessary; use every precaution against fire, and not permit burning waste, hot cinders or any other thing to be thrown or dropped from the engine; clean the ash pan or front end only at points specially designated; report the condition of the engine at the end of each trip, and assist in making repairs when called upon.
He must call the indication of signals to his Fireman.
He must show his train orders to his Fireman and also to the front Brakeman when practicable.
He must permit no unauthorized person to ride on the engine.
He must not leave the engine during the trip except in case of necessity, and must then leave the Fireman in charge.
719. The Fireman reports to and receives his instructions from the Road Foreman of Engines. He must obey the orders of the Train Master, and when at the engine house he is under the direction of the Engine House Foreman. When with the engine the Fireman must obey the orders of the Engineman respecting the proper use of fuel and performance of his duties.
The Fireman must report for duty at the appointed time; assist in shifting and making up the train, when required; assist the Engineman in keeping a lookout on the track for signals and obstructions; call the indication of signals to the Engineman; take charge of the engine during the absence of the Engineman, and assist in cleaning the engine after each trip, and in making repairs when required. He must not run an engine in the absence of the Engineman unless in some emergency he is directed to do so by the Conductor, or someone in authority. He must be familiar with the rules that apply to the protection of trains and the use of signals, which he must be prepared to use promptly.
He must protect the front of the train when necessary.
720. The Master Mechanic reports to and receives his instructions from the Superintendent. He must conform to the instructions of the Superintendent of Motive Power.
He is responsible for the proper and economical management of the shops, and for the discipline and proper discharge of the duties of the persons employed therein; for the economical use of fuel and stores, and for keeping the proper account of those supplied to engines and cars; and for engines and cars being in proper condition for service.
He must adhere to the authorized standards in construction or repairs, unless otherwise instructed; and must keep a daily record of the time made and rate of pay and earnings of workmen; and of the time employed, and quantity and cost of material used on each piece of work.
He must not permit work to be done in the shops at night or on Sunday, unless absolutely necessary; nor permit lights in the shops after working hours, except those required by the Watchmen on duty; he must not permit smoking in or about the shop buildings; he must not allow visitors in the shops without permits, nor allow them to converse or interfere with the workmen.
He must advise with the Road Foreman of Engines respecting the performance of engines while on the road, and see that they are maintained in condition to give the most efficient service.
721. The Engine House Foreman reports to and receives his instructions from the Master Mechanic. He must obey the orders of the Road Foreman of Engines with regard to the assignment of engines and the disposition of Enginemen and Firemen.
The Engine House Foreman has charge of the engine house and the workmen employed therein. It is his duty to see that the engine house is kept clean and in good order; that the workmen perform their duties properly; that the supplies are economically used; that the engines are prepared for service promptly and are in good working order and properly equipped, and that they are inspected and cleaned at the end of each trip, and reported for repairs when necessary; and that Enginemen and Firemen are ready for duty at the required time.
722. The Car Inspector reports to and receives his instructions from the Master Mechanic and must obey the orders of the Station Master or Yard Master.
It is his duty to inspect all cars passing his station; make needed repairs, and send to the shop cars not fit for service.
He must see that cars in passenger trains are properly washed, equipped and warmed; that all the fixtures are clean and in good order and ready for use; and that the load on freight cars is properly placed and does not exceed the safe capacity nor the authorized quantity or dimensions.
When inspecting cars he must protect himself by placing a blue signal at the end of each car or train in accordance with the rules.
724. The Master Carpenter reports to and receives his instructions from the Engineer of Maintenance of Way.
He has charge of the repairs of bridges, buildings and other structures, and of the men employed in the maintenance thereof. He is in charge of the water stations and will be responsible for their operation.
He must be familiar with the use and meaning of signals, and see that they are understood and properly used by the persons employed under him.
When repairing bridges or other structures he must keep the main track safe for passage of trains, and, when necessary to obstruct it, see that full protection is provided in both directions.
He will arrange with the Supervisor for the distribution of material and for assistance he may require.
725. The Signal Supervisor reports to and receives his instructions from the Engineer of Maintenance of Way.
He is responsible for the proper working of all interlocking apparatus and fixed signals.
He must make all repairs, but must not make any alterations without proper authority, nor permit any changes in interlocking apparatus or signals maintained by foreign companies without proper authority.
When, from any cause, an interlocking machine will be out of service for more than twenty-four hours, he must see that the semaphore arms are taken off and that no lights are displayed on the signals. He must see that all towers are provided with proper hand signals.
726. The Supervisor reports to and receives his instructions from the Engineer of Maintenance of Way.
He has charge of the track forces employed on his subdivision, and must see that they perform their duties properly, discipline them for neglect of duty, and keep account of and report their time in the manner prescribed. He is responsible for keeping the track, fences, roadbed, bridges, culverts, telegraph line and everything pertaining to the roadway in repair.
He must frequently pass over his subdivision; observe the condition of the track and bridges; see that the proper slopes and ditches are preserved, and that culverts and drains are kept open; note anything liable to obstruct the track, and have it removed; and do everything necessary to secure the safety of the road.
He must know that the persons under his charge understand and obey the rules and understand the use and meaning of signals; see that materials are safely kept and economically used; attend in person to the removal of slides, snow or other obstructions; in case of accident take the necessary force to the place, and use every effort to clear the road; have the standard time, and compare with each foreman once a week or oftener; give attention to the water supply, and report any defect or deficiency; keep an oversight of work performed by contractors or mechanics, and see that they do not endanger trains; and make careful inquiry and report fully in writing respecting any accident on his subdivision.
He must be familiar with the instructions issued for the government of trains and trainmen, and report any neglect, of duty or violation of the rules that comes under his notice.
727. The Track Foreman reports to and receives his instructions from the Supervisor.
He has charge of the repairs on his section, and is responsible for the safety of the track, bridges and culverts.
He must see that the track is in good line and surface, and properly spiked; that it is in true gage; that the cross-ties are properly spaced, lined and tamped; that the roadbed is in good order; that the proper slopes and ditches are preserved, and that there be no interference with the drainage.
He must engage in work personally, and see that watchmen and other workmen faithfully perform their duties; suspend them for neglect or misconduct, and report the same to the Supervisor.
He must compare time each day with the clock at the nearest telegraph office, or with the Conductor of a train; and must carefully observe signals displayed by trains.
He must watch points where obstructions are likely to occur; examine the slopes of cuts, and remove anything liable to fall or slide; remove combustible material from the vicinity of the track, bridges and buildings; extinguish fires that may occur along the road; watch the telegraph line and keep the poles and wires in proper position; report promptly any derangement of the wires and assist the Lineman when necessary; see that water stations are kept in order and report any failure in the water supply; see that fences are kept in repair; prevent any encroachment on the right of way and other grounds of the Company; render prompt assistance in case of accident, or delay to trains; and see that old material is gathered up, and that his section is kept in neat and proper condition.
He must not permit anything to be placed where it will endanger trains or employes, and during heavy storms he must detail all hands to watch the road and take every precaution to prevent accident.
Any work that interferes with the safe passage of trains at full speed is an obstruction and must not be attempted without full protection in both directions. If merely a reduction in speed is necessary, he must have Caution (yellow) signals placed at a sufficient distance from the obstruction and must have Proceed (green) signals placed just beyond the obstruction on the Engineman’s side of the track. Where it is necessary for trains to come to a stop before reaching the obstruction, or where the Caution signals cannot be seen from the obstruction, he must send out Flagmen with Stop (red) signals a proper distance to insure full protection. He must report all failures of Enginemen to properly acknowledge these signals.
He must not permit his switch key to pass out of his possession, and must personally attend to the opening and closing of switches.
He must not run his hand car without at least one man facing in each direction, nor without full protection by signals when necessary. He must see that push cars, when used, are never so loaded as to prevent prompt removal on approach of a train, and that they are at all times properly protected by signals.
He must not permit hand or push cars to be attached to moving trains or to be run at night without a light, or at any time on other than Company business, or without his authority, or on other than sidings or outside main tracks in the direction of traffic where practicable. He must see that they are so secured when not in use that they cannot be moved to endanger trains.
728. Track and Bridge Watchmen report to and receive their instructions from the Track Foreman.
The Track Watchman must carefully examine the track, and see that it is in safe condition; that the switches are set and locked for the main track; that cars left on sidings fully clear the main track, and that the doors of loaded cars are secured. He must examine buildings and other property of the Company, and protect them from fire and other damage.
Should an obstruction to the track occur, the Watchman must at once display Stop signals in both directions and immediately send word, if possible, to the Track Foreman. Night Watchmen, before going off duty, must notify the Track Foreman of the trains due which have not passed, and of any other matters requiring attention.
The Bridge Watchman must keep a supply of water on the bridge and follow each train with a bucket of water to extinguish fire or hot cinders that may have fallen from the engine; keep the coping of the abutments and piers clean; remove combustible matter from near the bridge; frequently examine the timber and iron work of the bridge and report any decay or defect, and prevent all persons, except employes, from crossing the bridge.
The Watchman must observe the speed of passing trains and report any violation of the rules. When his time is not wholly occupied with watching, he will attend to such other duties as may be assigned him.
729. The Captain of Police reports to and receives his instructions from the Superintendent, and must conform to the instructions of the Superintendent of Police.
He is responsible for the proper guarding against depredation, fire or trespass of the Company’s property or that entrusted to its care, and shall have supervision of the men thus employed.
He shall, at the request of the Conductor, assist in maintaining order on trains, and shall maintain order at stations and in yards, and so far as possible protect the Company’s patrons from annoyance by disorderly persons.
He has supervision over Crossing Watchmen and will see that they properly understand their duties and fulfill them.
The Lieutenant of Police will, in the particular duties or district assigned him, have the same authority as the Captain and will act for him in his absence as may be directed.
730. The Crossing Watchman reports to and receives his instructions from the Captain of Police.
He must exercise care to insure full protection at the crossing when trains are approaching.
He will use white signals at crossings to signal vehicles and pedestrians, and green signals at night on the crossing gates.
Red signals must be used only to stop trains.
He must keep his watch house clean and not permit unauthorized persons in or about the premises.
Where two or more Watchmen are employed during the day or night, there must always be one on duty. When both day and night Watchmen are employed they must not leave their posts until relieved by each other.
731. The Ticket Receiver reports to and receives his instructions from the Superintendent and must conform to the instructions of the Passenger, Accounting and Treasury Departments.
He must see that Passenger Conductors are equipped with the necessary blank forms and supplies, and that they make the required reports. He is responsible for the preservation and display of the instructions to Conductors from the Passenger, Accounting and Treasury Departments, and must see that they are acknowledged and understood by them.
He must promptly report to the Superintendent all irregularities.
Safety is of the first importance in the discharge of duty.
Obedience to the rules is essential to safety.
To enter or remain in the service is an assurance of willingness to obey the rules.
The service demands the faithful, intelligent and courteous discharge of duty.
To obtain promotion capacity must be shown for greater responsibility.
A. Employes whose duties are prescribed by these rules must provide themselves with a copy.
Employes whose duties are in any way affected by the timetable must have a copy of the current timetable with them while on duty.
B. Employes must be conversant with and obey the rules and special instructions. If in doubt as to their meaning they must apply to proper authority for an explanation.
C. Employes must pass the required examinations.
D. Persons employed in any service on trains are subject to the rules and special instructions.
E. Employes must render every assistance in their power in carrying out the rules and special instructions and must report to the proper official any violation thereof.
F. Accidents, detention of trains, failure in the supply of water or fuel, or defects in the track, bridges or signals, must be promptly reported by wire to the proper official.
G. The use of intoxicants by employes while on duty is prohibited. Their use, or the frequenting of places where they are sold, is sufficient cause for dismissal.
H. The use of tobacco by employes while on duty in or about passenger stations, or on passenger cars, is prohibited.
J. Employes on duty must wear the prescribed badge and uniform and be neat in appearance.
K. Employes and others authorized to transact business at stations or on or about trains must be orderly and avoid annoyance to patrons.
L. In case of danger to the Company’s property employes must unite to protect it.
Note to Definition of Fixed Signal.—The definition of a “Fixed Signal” covers such signals as slow boards, stop boards, yard limits, switch, train order, block, interlocking, semaphore, disc, ball or other means for displaying indications that govern the movement of a train.
Note.—In the following rules, those marked with “D” before the number, are applicable to double track.
1. Standard Time obtained from ——— observatory will be transmitted to all points from designated offices at ——— m. daily.
2. Watches that have been examined and certified to by a designated inspector must be used by conductors, enginemen and ———. The certificate in prescribed form must be renewed and filed with ——— every ———.
(Form of Certificate.)
CERTIFICATE OF WATCH INSPECTOR
This is to certify that on ____________________ 19_____
the watch of ____________________ employed as
____________________ on the ____________________ R__________
was examined by me. It is correct and reliable, and, with
proper care, should run within a variation of thirty seconds
per week.
Name of maker ____________________
Grade ____________________
Number of movement ____________________
Open or hunting case ____________________
Metal of case ____________________
Signed, ____________________
Inspector.
Address ____________________
3. Watches of conductors, enginemen and ——— must be compared before commencing each day’s work, with a clock designated by time-table as a standard clock. The time when watches are compared must be registered on a prescribed form.
Note to Rule 3.—The conditions under which conductors and enginemen whose duties preclude access to a standard clock are required to obtain standard time vary so much on different railroads that each company should adopt such supplementary regulations to this rule as may best suit its own requirements.
4. Each time-table, from the moment it takes effect, supersedes the preceding time-table, and its schedules take effect on any division, or subdivision, at the leaving time at their initial stations on such division, or subdivision. But when a schedule of the preceding time-table corresponds in number, class, day of leaving, direction, and initial and terminal stations with a schedule of the new time-table, a train authorized by the preceding time-table will retain its train orders and assume the schedule of the corresponding number of the new time-table.
Schedules on each division, or subdivision, date from their initial stations on such division, or subdivision.
Not more than one schedule of the same number and day shall be in effect on any division, or subdivision.
5. Not more than two times are given for a train at any station; where one is given, it is, unless otherwise indicated, the leaving time; where two, they are the arriving and the leaving time.
The time applies to the switch where an inferior train enters the siding; where there is no siding it applies to the place from which fixed signals are operated; where there is neither siding nor fixed signal, it applies to the place where traffic is received or discharged.
Schedule meeting or passing stations are indicated by figures in full-faced type.
Both the arriving and leaving time of a train are in full-faced type when both are meeting or passing times, or when one or more trains are to meet or pass it between those times.
Where there are one or more trains to meet or pass a train between two times, or more than one train to meet a train at any station, attention is called to it by ———.
When trains are to be met or passed at a siding extending between two adjoining stations, the time at each end of the siding will be shown in full-faced type.
D-5. Not more than two times are given for a train at any station; where one is given, it is, unless otherwise indicated, the leaving time; where two, they are the arriving and the leaving time.
The time applies to the switch where an inferior train enters the siding; where there is no siding it applies to the place from which fixed signals are operated; where there is neither siding nor fixed signal, it applies to the place where traffic is received or discharged.
Schedule passing stations are indicated by figures in full-faced type.
Both the arriving and leaving time of a train are in full-faced type when both are passing times, or when one or more trains are to pass it between those times.
Where there are one or more trains to pass a train between two times, attention is called to it by ———.
When trains are to be passed at a siding extending between two adjoining stations, the time at each end of the siding will be shown in full-faced type.
6. The following signs when placed before the figures of the schedule indicate:
“s”—regular stop;
“f”—flag stop to receive or discharge passengers or freight;
“L”—leave;
“A”—arrive.
7. Employes whose duties may require them to give signals, must provide themselves with the proper appliances, keep them in good order and ready for immediate use.
8. Flags of the prescribed color must be used by day, and lights of the prescribed color by night.
9. Day signals must be displayed from sunrise to sunset, but when day signals cannot be plainly seen, night signals must be used in addition.
Night signals must be displayed from sunset to sunrise.
10.
| Color. | Indication. |
| (a) Red. | Stop. |
| (b) ——. | Proceed with caution, and for other uses prescribed by the Rules. |
| (c) ——. | Proceed, and for other uses prescribed by the Rules. |
| (d) Green and white. | Flag stop. See Rule 28. |
| (e) Blue. | See Rule 26. |
| (f) Purple. | Stop. (Night indication for dwarf signals.) |
11. A train finding a fusee burning on or near its track must stop and extinguish the fusee, and then proceed with caution prepared to stop short of train or obstruction.
12.
| Manner of Using. | Indication. |
| (a) Swung across the track. | Stop. |
| (b) Held horizontally at arm’s length, when the train is moving. | Reduce speed. |
| (c) Raised and lowered vertically. | Proceed. |
| (d) Swung vertically in a circle at half-arm’s length across the track when the train is standing. | Back. |
| (e) Swung vertically in a circle at arm’s length across the track when the train is running. | Train has parted. |
| (f) Swung horizontally above the head when the train is standing. | Apply air brakes. |
| (g) Held at arm’s length above the head when the train is standing. | Release air brakes. |
13. Any object waved violently by anyone on or near the track is a signal to stop.
14.
Note.—The signals prescribed are illustrated by “o” for short sounds; “—” for longer sounds. The sound of the whistle should be distinct, with intensity and duration proportionate to the distance signal is to be conveyed.
| Sound. | Indication. |
| (a) o | Apply brakes. Stop. |
| (b) — — | Release brakes. Proceed. |
| (c) — o o o | Flagman protect rear of train. |
| (d) — — — — | Flagman may return from west or south, as prescribed by Rule 99. |
| (e) — — — — — | Flagman may return from east or north, as prescribed by Rule 99. |
| (f) — — — | When running, train parted; to be repeated until answered by the signal prescribed by Rule 12 (e). Answer to 12 (e). |
| (g) o o | Answer to any signal not otherwise provided for. |
| (h) o o o | When train is standing back. Answer to 12 (d) and 16 (c). When train is running, answer to 16 (d). |
| (j) o o o o | Call for signals. |
| (k) — o o |
To call the attention of yard engines, extra trains or
trains of the same or inferior class or inferior right
to signals displayed for a following section. If not answered by a train, the train displaying signals must stop and ascertain the cause. |
| (l) — — o o | Approaching public crossings at grade. |
| (m) ——— | Approaching stations, junctions, railroad crossings at grade and ——. |
| (n) — — o | Approaching meeting points. See Rule 90. |
| (o) o — | Inspect train line for leak. |
| (p) Succession of short sounds. | Alarm for persons or live stock on the track. |
D-14. (Same as rule 14 with (n) omitted.)
15. The explosion of two torpedoes is a signal to reduce speed and look out for a train ahead or obstruction. The explosion of one torpedo will indicate the same as two, but the use of two is required.
16.
Note.—The signals prescribed are illustrated by “o” for short sounds; “—” for longer sounds.
| Sound. | Indication. |
| (a) o o | When standing—start. |
| (b) o o | When running—stop at once. |
| (c) o o o | When standing—back the train. |
| (d) o o o | When running—stop at next passenger station. |
| (e) o o o o | When standing—apply or release air brakes. |
| (f) o o o o | When running—reduce speed. |
| (g) o o o o o | When standing—recall flagman. |
| (h) o o o o o | When running—increase speed. |
| (j) o o o o o o | When running—increase train heat. |
| (k) ————— | When running—look back for hand signals. |
17. The headlight will be displayed to the front of every train by night, but must be concealed when a train turns out to meet another and has stopped clear of main track, or is standing to meet trains at the end of double track or at junctions.
When an engine is running backward a white light must be displayed by night on the rear of the tender.
Note to Rule 17.—Railroads which do not find it necessary to conceal headlights, as required in Rule 17, may omit that provision from the rule.
D-17. The headlight will be displayed to the front of every train by night, but must be concealed when a train is standing to meet trains at the end of double track or at junctions.
When an engine is running backward a white light must be displayed by night on the rear of the tender.
Note to Rule D-17.—Railroads which do not find it necessary to conceal headlights, as required in Rule D-17, may omit that provision from the rule.
18. Yard engines will display the headlight to the front and rear by night. When not provided with a headlight at the rear, a white light must be displayed. Yard engines will not display markers.
19. The following signals will be displayed, one on each side of the rear of every train, as markers, to indicate the rear of the train: By day, green (or yellow) flags, or marker lamps (not lighted): By night, green (or yellow) lights to the front and side and red lights to the rear; except when the train is clear of the main track, when green (or yellow) lights must be displayed to the front, side and rear.
D-19. The following signals will be displayed, one on each side of the rear of every train, as markers, to indicate the rear of the train: By day, green (or yellow) flags, or marker lamps (not lighted): By night, green (or yellow) lights to the front and side and red lights to the rear; except when the train is clear of the main track, when green (or yellow) lights must be displayed to the front, side and rear, and except when a train is turned out against the current of traffic, when green (or yellow) lights must be displayed to the front and side, a green (or yellow) light to the rear on the side next to the main track on which the current of traffic is in the direction the train is moving, and a red light to the rear on the opposite side.
Note.—Where railroads desire to discontinue the use of markers by day on passenger trains it is permissible to do so.
20. All sections except the last will display two green flags, and in addition, two green lights by night, in the places provided for that purpose on the front of the engine.
21. Extra trains will display two white flags and, in addition, two white lights by night, in the places provided for that purpose on the front of the engine.
Note to Rule 21.—Where conditions make it desirable railroads may omit Rule 21 on two or more tracks.
22. When two or more engines are coupled, each engine shall display the signals as prescribed by Rules 20 and 21.
23. One flag or light displayed where in Rules 19, 20 and 21 two are prescribed will indicate the same as two; but the proper display of all train signals is required.
D-23. One flag or light displayed where in Rules 20 and 21 two are prescribed will indicate the same as two; but the proper display of all train signals is required.
24. When cars are pushed by an engine, except when shifting or making up trains in yards, a white light must be displayed on the front of the leading car by night.
25. Each car of a passenger train must be connected with the engine by a communicating signal appliance.
26. A blue signal, displayed at one or both ends of an engine, car or train, indicates that workmen are under or about it; when thus protected it must not be coupled to or moved. Workmen will display the blue signals and the same workmen are alone authorized to remove them. Other cars must not be placed on the same track so as to intercept the view of the blue signals, without first notifying the workmen.
27. A signal imperfectly displayed, or the absence of a signal at a place where a signal is usually shown, must be regarded as the most restrictive indication that can be given by that signal, and the fact reported to the ———. Conductors and enginemen using a switch where the switch light is imperfectly displayed or absent, must also, if practicable, correct or replace the light.
28. A green and white signal will be used to stop a train only at the flag stations indicated on its schedule. When it is necessary to stop a train at a point that is not a flag station on its schedule, a red signal must be used.
29. When a signal, except a fixed signal, is given to stop a train, it must, unless otherwise provided, be acknowledged as prescribed by Rule 14 (g) or (h).
30. The engine-bell must be rung when an engine is about to move and while approaching and passing public crossings at grade.
31. The whistle must be sounded at all places where required by rule or by law.
32. The unnecessary use of either the whistle or the bell is prohibited.
33. Watchmen stationed at highway crossings must use stop signals when necessary to stop trains. They will use ——— signals to stop highway traffic.
34. The engineman and fireman must, when practicable, communicate to each other by its name the indication of all signals affecting the movement of their train.
35. The following signals will be used by flagmen:
71. A train is superior to another train by right, class or direction.
Right is conferred by train order; class and direction by time-table.
Right is superior to class or direction.
Direction is superior as between trains of the same class.
D-71. A train is superior to another train by right or class.
Right is conferred by train order; class by time-table.
Right is superior to class.
72. Trains of the first class are superior to those of the second; trains of the second class are superior to those of the third; and so on.
Trains in the direction specified by the time-table are superior to trains of the same class in the opposite direction.
D-72. Trains of the first class are superior to those of the second; trains of the second class are superior to those of the third; and so on.
73. Extra trains are inferior to regular trains.
82. Time-table schedules, unless fulfilled, are in effect for twelve hours after their time at each station.
Regular trains more than twelve hours behind either their schedule arriving or leaving time at any station lose both right and schedule, and can thereafter proceed only as authorized by train order.
83. A train must not leave its initial station on any division, or subdivision, or a junction, or pass from double to single track, until it has been ascertained whether all trains due, which are superior, or of the same class, have arrived or left.
Stations at which train registers are located may be designated by time-table.
D-83. A train must not leave its initial station on any division, or subdivision, or a junction, until it has been ascertained whether all superior trains due have left.
Stations at which train registers are located may be designated by time-table.
84. A train must not start until the proper signal is given.
85. When a train of one schedule is on the time of another schedule of the same class in the same direction, it will proceed on its own schedule.
Trains of one schedule may pass trains of another schedule of the same class, and extra trains may pass and run ahead of ——— class trains and extra trains.
A section may pass and run ahead of another section of the same schedule, first exchanging train orders, signals and numbers with the section to be passed. The change in sections must be reported from the next available point of communication.
D-85. When a train of one schedule is on the time of another schedule of the same class it will proceed on its own schedule.
Trains of one schedule may pass trains of another schedule of the same class, and extra trains may pass and run ahead of ——— class trains and extra trains.
A section may pass and run ahead of another section of the same schedule, first exchanging train orders, signals and numbers with the section to be passed. The change in sections must be reported from the next available point of communication.
86. Unless otherwise provided, an inferior train must clear the time of a superior train, in the same direction, not less than five minutes; but must be clear at the time a first-class train, in the same direction, is due to leave the next station in the rear where time is shown.
D-86. Unless otherwise provided, an inferior train must clear the time of a superior train not less than five minutes; but must be clear at the time a first-class train in the same direction is due to leave the next station in the rear where time is shown.
Extra trains must clear the time of regular trains ——— minutes unless otherwise provided.
87. An inferior train must keep out of the way of opposing superior trains and failing to clear the main track by the time required by rule must be protected as prescribed by Rule 99.
Extra trains must clear the time of opposing regular trains not less than five minutes unless otherwise provided, and will be governed by train orders with respect to opposing extra trains.
88. At meeting points between trains of the same class, the inferior train must clear the main track before the leaving time of the superior train.
At meeting points between extra trains, the train in the inferior time-table direction must take the siding unless otherwise provided.
Trains must pull into the siding when practicable; if necessary to back in, the train must first be protected as prescribed by Rule 99, unless otherwise provided.
89. At meeting points between trains of different classes the inferior train must take the siding and clear the superior train at least five minutes, and must pull into the siding when practicable. If necessary to back in, the train must first be protected as prescribed by Rule 99, unless otherwise provided.
Note to Rule 89.—Where greater clearance is necessary, Rule 89 should require a clearance of TEN minutes.
90. Trains must stop at schedule meeting points, if the train to be met is of the same class unless the switch is right and the track clear.
When the expected train of the same class is not found at the schedule meeting point, the superior train must approach all sidings prepared to stop, until the expected train is met.
Trains must stop clear of the switch used by the train to be met in going on the siding.
The engineman will give signal 14 (n) at least one mile before reaching a schedule meeting point with a train of the same or superior class, or a point where by train order the train is to meet or wait for an opposing train. Should the engineman fail to give signal 14 (n) as herein prescribed, the conductor must take immediate action to stop the train.
91. Unless some form of block signals is used, trains in the same direction must keep at least five minutes apart, except in closing up at stations. A train following a train carrying passengers must keep at least ten minutes behind it.
D-91. Unless some form of block signals is used, trains must keep at least five minutes apart, except in closing up at stations. A train following a train carrying passengers must keep at least ten minutes behind it.
92. A train must not arrive at a station in advance of its schedule arriving time.
A train must not leave a station in advance of its schedule leaving time.
93. Within yard limits the main track may be used, protecting against ——— class trains.
——— class and extra trains must move within yard limits prepared to stop unless the main track is seen or known to be clear.
D-93. Within yard limits the main tracks may be used, protecting against ——— class trains.
——— class and extra trains must move within yard limits prepared to stop unless the main track is seen or known to be clear.
94. A train which overtakes another train so disabled that it cannot proceed will pass it, if practicable, and if necessary will assume the schedule and take the train orders of the disabled train, proceed to the next available point of communication, and there report to the ———. The disabled train will assume the right or schedule and take the train orders of the last train with which it has exchanged, and will when able proceed to and report from the next available point of communication.
When a train, unable to proceed against the right or schedule of an opposing train, is overtaken between communicating stations by an inferior train or a train of the same class having right or schedule which permits it to proceed, the delayed train may, after proper understanding with the following train, precede it to the next available point of communication, where it must report to the ———. When opposing trains are met under these circumstances, it must be fully explained to them by the leading train that the expected train is following.
D-94. A train which overtakes a superior train, so disabled that it cannot proceed will pass it, if practicable, and if necessary will assume the schedule and take the train orders of the disabled train, proceed to the next available point of communication, and there report to the ———. The disabled train will assume the schedule and take the train orders of the last train with which it has exchanged, and will, when able, proceed to and report from the next available point of communication.
95. Two or more sections may be run on the same schedule.
Each section has equal time-table authority.
A train must not display signals for a following section, except as prescribed by Rule 85, without orders from the ———.
D-95. Two or more sections may be run on the same schedule.
Each section has equal time-table authority.
A train must not display signals for a following section, except as prescribed by Rule D-85, without orders from the ———.
96. When signals displayed for a section are taken down at any point before that section arrives, the conductor, if there be no other provision, will arrange in writing with the operator, or if there be no operator, with the switchtender, or in the absence of both, with a flagman left there for that purpose, to notify all opposing trains that the section for which signals were displayed has not arrived, and, in addition, the conductor must notify all opposing inferior trains, or trains of the same class, until the fact that the signals were carried has been registered at the next register station.
97. Extra trains must not be run without train orders.
D-97. Unless otherwise provided, extra trains must not be run without train orders.
Work extras must move with the current of traffic unless otherwise directed.
98. Trains must approach the end of double track, junctions, railroad crossings at grade, and drawbridges, with caution. Where required by rule or by law, trains must stop.
Trains using a siding must proceed with caution, expecting to find it occupied by other trains.
99. When a train stops under circumstances in which it may be overtaken by another train, the flagman must go back immediately with flagman’s signals a sufficient distance to insure full protection, placing two torpedoes, and when necessary, in addition, displaying lighted fusees.
When signal 14 (d), or 14 (e), has been given to the flagman and safety to the train will permit, he may return. When the conditions require he will leave the torpedoes and a lighted fusee.
The front of the train must be protected in the same way when necessary by the ———.
When a train is moving under circumstances in which it may be overtaken by another train, the flagman must take such action as may be necessary to insure full protection. By night, or by day when the view is obscured, lighted fusees must be thrown off at proper intervals.
When day signals cannot be plainly seen, owing to weather or other conditions, night signals must also be used.
Conductors and enginemen are responsible for the protection of their trains.
Flagman’s signals:
100. When the flagman goes back to protect the rear of the train, the ——— must, in the case of passenger trains, and the next brakeman in the case of other trains, take his place on the train.
101. Trains must be fully protected against any known condition which interferes with their safe passage at normal speed.
When conditions are found which may interfere with the safe passage of trains at normal speed and no protection has been provided, such action must be taken as will insure safety.
102. If a train should part while in motion, trainmen must, if possible, prevent damage to the detached portions. The signals prescribed by Rules 12 (e) and 14 (f) must be given.
The detached portion must not be moved or passed until the front portion comes back.
D-102. If a train should part while in motion, trainmen must, if possible, prevent damage to the detached portions. The signals prescribed by Rules 12 (e) and 14 (f) must be given.
The detached portion must not be moved or passed until the front portion comes back.
The engineman and trainmen of the front portion must give the train-parted signal to trains running on the opposite track. A train receiving this signal or being otherwise notified that a train on the opposite track has parted, must immediately reduce speed and proceed with caution until the separated train is passed.
When a train is disabled so it may obstruct the opposite track, trains on that track must be stopped.
103. When cars are pushed by an engine, except when shifting or making up trains in yards, a trainman must take a conspicuous position on the front of the leading car.
104. Switches must be left in proper position after having been used. Conductors are responsible for the position of the switches used by them and their trainmen, except where switchtenders are stationed, but, when practicable, the engineman must see that the switches nearest the engine are properly set.
A switch must not be left open for a following train unless in charge of a trainman of such train.
105. Both the conductor and the engineman are responsible for the safety of the train and the observance of the rules, and, under conditions not provided for by the rules, must take every precaution for protection.
106. Trains must use caution in passing a train receiving or discharging passengers at a station, and, except where proper safeguards are provided or the movement is otherwise protected, must not pass between it and the platform at which the passengers are being received or discharged.
107. In case of doubt or uncertainty the safe course must be taken.
D-151. Trains must keep to the ———, unless otherwise provided.
D-152. When a train crosses over to, or obstructs the other track, unless otherwise provided it must first be protected as prescribed by Rule 99 in both directions on that track.
201. For movements not provided for by time-table, train orders will be issued by authority and over the signature of the ———. They must contain neither information nor instructions not essential to such movements.
They must be brief and clear; in the prescribed forms when applicable; and without erasure, alteration or interlineation.
Figures in train orders must not be surrounded by brackets, circles or other characters.
202. Each train order must be given in the same words to all employes or trains addressed.
203. Train orders must be numbered consecutively each day, beginning at midnight.
204. Train orders must be addressed to those who are to execute them, naming the place at which each is to receive his copy. Those for a train must be addressed to the conductor and engineman, and also to anyone who acts as its pilot. A copy for each employe addressed must be supplied by the operator.
Orders addressed to operators restricting the movement of trains must be respected by conductors and enginemen the same as if addressed to them.
205. Each train order must be written in full in a book provided for the purpose at the office of the ———; and with it recorded the names of those who have signed for the order; the time and the signals which show when and from what offices the order was repeated and the responses transmitted; and the train dispatcher’s initials. These records must be made at once, and never from memory or memoranda.
206. In train orders regular trains will be designated as “No. 10”, and sections as “Second 10”, adding engine numbers if desired. Extra trains will be designated by engine numbers, and the direction as “Extra 798, ‘East’ or ‘West’”.
In transmitting train orders by telegraph, time may be stated in figures only or duplicated in words.
In transmitting train orders by telephone the names of stations must be plainly pronounced, and then spelled, letter by letter, thus: Aurora, A-u-r-o-r-a; all numerals must first be pronounced, and then followed by spelling, thus: 1-0-5, O-n-e N-a-u-g-h-t F-i-v-e; the train dispatcher must write the order as he transmits it and underscore it as it is being repeated. The letters duplicating names of stations and numerals will not be written in the order book nor upon train orders.
Even hours must not be used in stating time of day in train orders, such as 10 00 a.m.
207. To transmit a train order, the signal “31” or the signal “19” followed by the direction must be given to each office addressed, the number of copies being stated, if more or less than three—thus, “31 West, copy 5,” or “19 East, copy 2.”
Note to Rule 207.—Where forms “31” and “19” are not both in use the signal may be omitted.
208. A train order to be sent to two or more offices must be transmitted simultaneously to as many of them as practicable. When not sent simultaneously to all, the order must be sent first to the superior train.
The several addresses must be in the order of superiority of trains, each office taking its proper address, and when practicable must include the operator at the meeting or waiting point.
Copies of the order addressed to the operator at the meeting or waiting point must be delivered to the trains affected until all have arrived from one direction.
A train order must not be sent to a superior train at the meeting point if it can be avoided. When an order is so sent, the fact will be stated in the order and special precautions must be taken to insure safety.
D-208. A train order to be sent to two or more offices must be transmitted simultaneously to as many of them as practicable. When not sent simultaneously to all, the order must be sent first to the superior train.
The several addresses must be in the order of superiority of trains, each office taking its proper address.
209. Operators receiving train orders must write them in manifold during transmission. If they cannot at one writing make the requisite number of copies, they must make others from one of the copies previously made, and repeat to the train dispatcher from the new copies each time additional copies are made. They must retain a copy of each train order.
210. When a “31” train order has been transmitted, operators must, unless otherwise directed, repeat it at once from the manifold copy in the succession in which the several offices have been addressed, and then write the time of repetition on the order. Each operator receiving the order should observe whether the others repeat correctly.
Those to whom the order is addressed, except enginemen, must then sign it, and the operator will send their signatures preceded by the number of the order to the ———. The response “complete”, and the time, with the initials of the ———, will then be given by the train dispatcher. Each operator receiving this response will then write on each copy the word “complete”, the time, and his last name in full, and then deliver a copy to each person addressed, except enginemen. The copy for each engineman must be delivered to him personally by ———.
Enginemen must show train orders to firemen and when practicable to forward trainmen. Conductors must show train orders when practicable to trainmen.
Note to Rule 210.—0n railroads where the signature of the engineman is desired, the words, “except enginemen”, and the last sentence in the second paragraph may be omitted. If preferred, each person receiving an order may be required to read it aloud to the operator.
211. When a “19” train order has been transmitted, operators must, unless otherwise directed, repeat it at once from the manifold copy, in the succession in which the several offices have been addressed. Each operator receiving the order should observe whether the others repeat correctly. When the order has been repeated correctly by an operator, the response “complete”, and the time, with the initials of the ———, will be given by the train dispatcher. The operator receiving this response will then write on each copy the word “complete”, the time, and his last name in full, and personally deliver a copy to each person addressed without taking his signature. But when delivery to enginemen will take the operator from the immediate vicinity of his office, the engineman’s copy will be delivered by ———.
When a “19” train order restricting the superiority of a train is issued for it at the point where such superiority is restricted, the train must be brought to a stop before delivery of the order.
Enginemen must show train orders to firemen and when practicable to forward trainmen. Conductors must show train orders when practicable to trainmen.
212. When so directed by the train dispatcher, a train order may be acknowledged before repeating, by the operator responding: “X; Number of Train Order to Train Number ,” with the operator’s initials and office signal. The operator must then write on the order his initials and the time.
213. “Complete” must not be given to a train order for delivery to an inferior train until the order has been repeated or the “X” response sent by the operator who receives the order for the superior train.
214. When a train order has been repeated or “X” response sent, and before “complete” has been given, the order must be treated as a holding order for the train addressed, but must not be otherwise acted on until “complete” has been given.
If the line fail before an office has repeated an order or has sent the “X” response, the order at that office is of no effect and must be there treated as if it had not been sent.
215. Eliminated.
216. For train orders delivered by the train dispatcher the requirements as to the record and delivery are the same as at other offices.
217. A train order to be delivered to a train at a point not a train order office, or at one at which the office is closed, must be addressed to “C. and E. ——— at ———, care of ———,” and forwarded and delivered by the conductor or other person in whose care it is addressed. When form 31 is used “complete” will be given upon the signature of the person by whom the order is to be delivered, who must be supplied with copies for the conductor and engineman addressed, and a copy upon which he shall take their signatures. This copy he must deliver to the first operator accessible, who must preserve it, and at once transmit the signatures of the conductor and engineman to the train dispatcher.
Orders so delivered must be acted on as if “complete” had been given in the usual way.
For orders which are sent, in the manner herein provided, to a train, the superiority of which is thereby restricted, “complete” must not be given to an inferior train until the signatures of the conductor and engineman of the superior train have been sent to the ———.
218. When a train is named in a train order by its schedule number alone, all sections of that schedule are included, and each must have copies delivered to it.
219. An operator must not repeat or give the “X” response to a train order for a train which has been cleared or of which the engine has passed his train-order signal until he has obtained the signatures of the conductor and engineman to the order.
220. Train orders once in effect continue so until fulfilled, superseded or annulled. Any part of an order specifying a particular movement may be either superseded or annulled.
Orders held by or issued for or any part of an order relating to a regular train become void when such train loses both right and schedule as prescribed by Rules 4 and 82, or is annulled.
When a conductor or engineman, or both, is relieved before the completion of a trip, all train orders and instructions held must be delivered to the relieving conductor or engineman. Such orders or instructions must be compared by the conductor and engineman before proceeding.
221 (A). A fixed signal must be used at each train-order office, which shall indicate “stop” when there is an operator on duty, except when changed to “proceed” to allow a train to pass after getting train orders, or for which there are no orders. A train must not pass the signal while “stop” is indicated. The signal must be returned to “stop” as soon as a train has passed. It must be fastened at “proceed” only when no operator is on duty.
Operators must have the proper appliances for hand signaling ready for immediate use if the fixed signal should fail to work properly. If a signal is not displayed at a night office, trains which have not been notified must stop and ascertain the cause, and report the facts to the ——— from the next available point of communication.
Where the semaphore is used, the arm indicates “stop” when horizontal and “proceed” when in a vertical or diagonal* position.
Note to Rule 221 (A).—The conditions which affect trains at stations vary so much that it is recommended each railroad adopt such regulations supplementary to this rule as may best suit is own requirements.
*Angle above or below the horizontal.
221 (B). A fixed signal must be used at each train-order office, which shall indicate “stop” when trains are to be stopped for train orders. When there are no orders the signal must indicate “proceed”.
When an operator receives the signal “31”, or “19”, followed by the direction, he must immediately display the “stop signal” for the direction indicated and then reply “stop displayed”, adding the direction; and until the orders have been delivered or annulled the signal must not be restored to “proceed”. While “stop” is indicated trains must not proceed without a clearance card (Form ———(A)).
Operators must have the proper appliances for hand signaling ready for immediate use, if the fixed signal should fail to work properly. If a signal is not displayed at a night office, trains which have not been notified must stop and ascertain the cause, and report the facts to the ——— from the next available point of communication.
Where the semaphore is used, the arm indicates “stop” when horizontal and “proceed” when in a vertical or diagonal position.
Note to Rules 221 (A) and 221 (B).—The Committee has recommended two forms of Rule 221, leaving it discretionary to adopt one or both of these forms according to the circumstances of the traffic.
222. Operators must promptly record and report to the ——— the time of departure of all trains and the direction of extra trains. They must record the time of arrival of trains and report it when so directed.
223. The following signals and abbreviations may be used:
Note.—In the following forms those marked “D”, such as D-H, are applicable to double track.
Trains receiving these orders will run with respect to each other to the designated points and there meet in the manner prescribed by the Rules.
These orders give right to the train first named over the other train between the points named. If the trains meet at either of the designated points, the first-named train must take the siding, unless the order otherwise prescribes.
Omitted. (Not used.)
Each section affected by these orders must have copies, and must arrange signals accordingly.
To annul a section for which signals have been displayed over a division, or any part thereof, when no train is to follow the signals, Form K must be used.
When sections are run to an intermediate point of a schedule, the train orders must specify which section or sections shall assume the schedule beyond such point.
Work extras must give way to all trains as promptly as practicable.
Whenever extra trains are run over working limits, they must be given a copy of the order sent to the work extra. Should the working order instruct a work extra to not protect against extra trains in one or both directions, extra trains must protect against the work extras; if the order indicates that the work extra is protecting itself against other trains, they will run expecting to find. the work extra protecting itself.
The working limits should be as short as practicable; to be changed as the progress of the work may require.
Work extras must give way to all trains as promptly as practicable.
The working limits should be as short as practicable; to be changed as the progress of the work may require.
These orders will be addressed to the operator and acknowledged in the usual manner, and will be delivered to conductors and enginemen of all trains affected.
Form J will be used only when necessary to hold trains until orders can be given, or in case of emergency.
The schedule or section annulled becomes void between the points named and cannot be restored.
An order which has been annulled must not be reissued under its original number.
That part of Order No 10 reading No 1 meet No 2 at S is annulled.
That part of Order No 12 reading No 3 pass No 1 at S is annulled.
That part of Order No 10 reading Extra 263 west pass No 1 at S is annulled.
That part of Order No 12 reading No 3 pass No 1 at S is annulled.
This order will be given by adding to prescribed forms the words “instead of ———”.
(2.) No 3 pass No 1 at D instead of C.
(3.) No 1 has right over No 2 G to R instead of X.
(4.) No 1 display signals for Eng 85 A to Z instead of G.
An order which has been superseded must not be reissued under its original number.
When a train is directed by train order to take siding for another train, such instructions apply only at the point named in that order, and do not apply to the superseding order unless so specified.
This order will be given by adding to prescribed forms, the words “instead of ———”.
An order which has been superseded must not be reissued under its original number.
A train must not be moved against the current of traffic until the track on which it is to run has been cleared of opposing trains.
All trains must use the track specified between the stations named and will be governed by rules for single track.
Trains running against the current of traffic on the track named must be clear of the track at the expiration of the time named, or protected as prescribed by Rule 99.
Train orders are sent in two forms, “19” and “31”.
“19” orders are frequently called “assisting orders”. They are used quite extensively in notifying trains of defective places in the track, and of sidings being blocked with cars preventing trains from using them as passing sidings, etc. They are delivered by the operator handing them to the engineman and conductor by means of a hoop as the train passes, without stopping, thereby permitting the train to employ the time in running which would have been lost had they stopped and signed for a “31” order.
“31” orders are delivered after the train has stopped and they have been signed by the conductor or engineman or both.
In issuing an order both forms may be used to different offices and trains in the same order as in the following example order No.2, it being issued to No. 9 at KS (Warsaw) as a “31” order because No. 9 is a superior train, and it is therefore absolutely necessary for No. 9 to have the order to allow the inferior trains, 2nd and 3rd Nos. 72 and Exa 7421 East to act upon it. It will be appreciated by this statement that no trouble would arise if either of the inferior trains failed to get the order, while if No. 9 should fail to receive its copies a serious disaster might result.
Order No 1.
“31” To c&e 12 SX.
“31” To c&e 9 KS.
No 12 Eng 7048 will meet No 9 Eng 7228 at Bourbon instead of Inwood.
C.D.L.
We assume in this order that Inwood is the regular meeting point for these trains, but owing to No 9 being behind time, they will meet at Bourbon on the date of this order.
Order No 2.
“31” To c&e 9 KS.
“19” To c&e 2nd & 3rd 72 P.
“19” To c&e Exa 7421 East HA.
No 9 Eng 7228 will wait at Bourbon until six ten 610 PM at Inwood until six twenty 620 PM for 2nd & 3rd No 72 Engs 7334 & 7429 and Exa 7421 East.
C.D.L.
In this order the three inferior trains, 2nd & 3rd No 72, and extra east engine 7421, are given a privilege, not granted on the time schedule, to run to either of these stations within a stated time as against a superior train.
Order No 3.
“31” To c&e 4th 72 V.
“31” To c&e 95 KA.
No 95 Eng 7219 has right over 4th No 72 Eng 7273 Hanna to Winslow.
C.D.L.
In this order No. 95, the inferior train, becomes the superior one between the points designated.
Order No 4.
“31” To c&e 22 V.
“19” To c&e 94 & 1st 75 KA.
“19” To c&e 2nd 75 & 77 P.
“19” To c&e Exa 7331 West HN.
No 22 Eng 7307 will run one 1 hour and five 5 mins late Valparaiso to Hamlet Xng and fifty-five 55 mins late Hamlet Xng to Bourbon.
C.D.L.
In this order, inferior trains, to which this order has been addressed, may add one hour and five minutes between Valparaiso and Hamlet Crossing, and fifty-five minutes between Hamlet Crossing and Bourbon, to the schedule time of No 22 and employ this additional time in running to other than regular meeting points to meet No 22.
Order No 5(a).
“19” To c&e 93 SX.
“19” To c&e all frts west P.
No 66 due to leave Valparaiso Saturday May 20th is annulled between Valparaiso and Warsaw.
C.D.L.
Order No 5(b).
“19” To c&e 93 SX.
“19” To c&e all frts west P.
No 66 due to leave Valparaiso this date Saturday May 20th is abandoned.
C.D.L.
This order would be addressed to trains inferior to No. 66.
Either form (a) or (b) will explain its meaning.
Order No 6.
“31” To c&e 3rd & 4th 76 V.
Engs 7217 and 7393 will reverse positions as 3rd & 4th No 76 Hanna to East Yard.
C.D.L.
In this order, the former third section becomes the fourth section, and the former fourth section becomes the third section east of Hanna.
Order No 7.
“31” To c&e Eng 7077 V.
Eng 7077 will run extra Valparaiso to Davis.
C.D.L.
This order permits engine 7077 to ruill as an extra between the points named, keeping out of the way of all regular trains.
Order No 8.
“31” To c&e 4th 72 WS.
“31” To c&e 95 SX.
Order number three 3 is annulled. No 95 Eng 7219 will side track and wait at Wanatah for 4th No 72 Eng 7273.
C.D.L.
This order countermands the unused portion of order number three, and requires No 95 to side track and wait at Wanatah for fourth No 72.
Order No 9.
“19” To c&e all frts and Exas East V.
“19” To c&e all frts West P.
The bumping post at east end of Wanatah coal track has been pushed out of place. Trainmen should be careful in taking out cars.
C.D.L.
This order is issued to trains likely to use the track referred to.
Train despatchers in transmitting train orders will give the order number, the different addresses, the body, and the superintendent’s initials.
Operators in repeating “31” train orders will give form number, their office call, the order number, the train or trains addressed, period, the body of the order, the superintendent’s initials, the conductor’s and engineer’s signatures, and their own initials.
Operators in repeating “19” train orders will give form number, their office call, the order number, the train or trains addressed, period, the body of the order, the superintendent’s initials, and their own initials or name.
Operators in acknowledging a train order will give form number, their office call, the order number, the train or trains addressed, the letter “X”, and their initials.
No order can be delivered until a “complete”, given by the train despatcher, has been received for it.



D-251. On portions of the road so specified on the time-table, trains will run with the current of traffic by block signals whose indications will supersede time-table superiority.
D-252. The movement of trains will be supervised by the ——— who will issue instructions to signalmen when required.
D-253. A train having work to do which may detain it more than ——— minutes, must obtain permission from the signalman at the last station at which there is a siding before entering the block in which work is to be done. The signalman must obtain authority to give this permission from the ———.
D-254. Except as affected by Rules D-251 to D-253, all Block Signal Rules and Train Rules remain in force.
NOTE.—Railroads operating under these Rules must provide proper signals to control the approach and movement of trains.
D-261. On portions of the road so specified on the time-table, trains will run against the current of traffic by block signals, whose indications will supersede time-table superiority and will take the place of train orders.
D-262. The movement of trains will be supervised by the ———, who will issue instructions to signalmen.
D-263. A train must not cross over, except as provided in Rule D-261, without authority from the ———.
D-264. Except as affected by Rules D-261 to D-263, all Block Signal Rules and Train Rules remain in force.
F-271. The main tracks shall be designated by numerals, and their use indicated by special instructions.
F-272. On portions of the road so specified on the time-table, trains will run with the current of traffic by block signals, whose indications will supersede time-table superiority.
F-273. A train by night running with the current of traffic, on ——— track, will display two red lights to the rear.
A train by night running with the current of traffic, on ——— track, will display a green (or yellow) light to the rear on the side next to ——— track in the direction of the current of traffic, and a red light on the opposite side.
A train by night using any track against the current of traffic will display two green (or yellow) lights to the rear, one on each side, with a red light on the platform or cupola.
A train by night on a siding will display two green or yellow lights to the rear.
F-274.
Note.—The signals prescribed are illustrated by “o” for short sounds; “—” for longer sounds. The sound of the whistle should be distinct, with intensity and duration proportionate to the distance signal is to be conveyed.
| Sound. | Indication. |
| (a) — — — — — | Flagman for Track No. 1 may return. |
| (b) — — — — | Flagman for Track No. 2 may return. |
| (c) — — — — — o | Flagman for Track No. 3 may return. |
| (d) — — — — o | Flagman for Track No. 4 may return. |
| (e) o — — — — — | Flagman for Track No. 5 may return. |
| (f) o — — — — | Flagman for Track No. 6 may return. |
| (g) o — — — — — o | Flagman for Track No. 7 may return. |
| (h) o— — — — o | Flagman for Track No. 8 may return. |
F-275. Except as affected by Rules F-271 to F-274, all Block Signal Rules and Train Rules for Double Track remain in force.
Note.—The hand, or a flag, moved the same as the lamp, as illustrated in the following diagrams, gives the same indication.

Stop—Swung across the track.
See Rule 12(a).

Proceed—Raised and lowered vertically.
See Rule 12(e).

Reduce Speed—Held horizontally at arm’s
length,
when the train is moving.
See Rule 12(b).

Back—Swung vertically in a circle at half arm’s
length across the track,
when the train is standing.
See Rules 12(d) and 14(h).

Train Has Parted—Swung vertically in a circle
at arm’s length across the track,
when the train is running.
See Rules 12(e) and 14(f).

Apply Air Brakes—Swung horizontally above the
head,
when the train is standing.
See Rule 12(f).

Release Air Brakes—Held at arm’s length
above the head,
when the train is standing.
See Rule 12(g).
Notes
The diagrams are intended to illustrate the general location of the train signals, not the exact manner in which they are to be attached.
Combination lamps with four illuminated colored faces are represented in the diagrams.
Where railroads desire to discontinue the use of markers by day on passenger trains, it is permissible to do so.

Engine Running Forward by Day as an Extra Train.
White flags at A A.
See Rule 21.

Engine Running Forward by Night as an Extra Train.
White lights and white flags at A A.
See Rule 21.

Engine Running Backward by Day as an Extra Train,
Without Cars or at the Rear of a Train Pushing Cars.
White flags at A A.
See Rule 21.
Green (or yellow) flags (or marker lamps—not lighted) at
B B, as markers.
See Rules 19 and D-19.

Engine Running Backward by Night as an Extra Train,
Without Cars or at the Rear of a Train Pushing Cars.
White lights and white flags at A A.
See Rule 21.
Lights at B B, as markers, showing green (or yellow) at
side and
in direction engine is moving and red in opposite
direction.
See Rules 19 and D-19.

Engine Running Forward by Day
Displaying Signals for a Following Section.
Green Flags at A A.
See Rule 20.

Engine Running Forward by Night
Displaying Signals for a Following Section.
Green lights and green flags at A A.
See Rule 20.

Engine Running Backward by Day,
Without Cars or at the Rear of a Train Pushing Cars,
and Displaying Signals for a Following Section.
Green flags at A A.
See Rule 20.
Green (or yellow) flags (or marker lamps—not lighted) at
B B, as markers.
See Rules 19 and D-19.

Engine Running Backward by Night,
Without Cars or at the Rear of a Train Pushing Cars,
and Displaying Signals for a Following Section.
Green lights and green flags at A A.
See Rule 20.
Lights at B B, as markers, showing green (or yellow) at
side and
in direction engine is moving and red in opposite
direction.
See Rules 19 and D-19.

Rear of Train by Day.
Green (or yellow) flags (or marker lamps—not
lighted) at A A, as markers.
See Rules 19 and D-19

Rear of Train by Night While Running.
Lights at A A, as markers, showing green (or yellow)
toward engine and side and red to rear.
See Rules 19 and D-19.

Rear of Train by Night When on Siding
to be Passed by Another Train.
Lights at A A, as markers, showing green (or yellow)
toward engine, side and to rear.
See Rules 19 and D-19.

Engine Running Forward by Day, Without Cars
or at the Rear of a Train Pushing Cars.
Green (or yellow) flags (or marker lamps—not
lighted), as markers.
See Rules 19 and D-19.

Engine Running Forward by Night, Without Cars
or at the Rear of a Train Pushing Cars.
Lights at A A, as markers, showing green (or yellow)
to the front and side and red to rear.
See Rules 19 and D-19.

Engine Running Backward by Night Without Cars
or at the Front of a Train Pulling Cars.
White light a A.
See Rules 17 and D-17.

Passenger Cars Being Pushed by an Engine by Night.
White light on front of leading car.
See Rule 24.

Freight Cars Being Pushed by an Engine by Night.
White light on front of leading car.
See Rule 24.
| (Outside) |
|
(Between tracks) |
Rear of Train by Night Running
Against the Current of Traffic.
(This illustration is for a road which uses the
right-hand track.)
Lights at A A, showing green (or yellow) to front and side
and
green (or yellow) to the rear on the side next to the main
track
on which the current of traffic is in the direction the
train is moving
and red to the rear on the opposite side, as per Rule
D-19.

Rear of Train by Night Running With
the Current of Traffic on ——— Track.
Lights at A A, showing red to the rear,
as per Rule F-273, first paragraph.

Rear of Train by Night Running With
the Current of Traffic on ——— Track.
Lights at A A, showing green (or yellow) to the rear
on the side
next to ——— track in the direction of the current of
traffic and
red on the opposite side, as per Rule F-273, second
paragraph.

Rear of Train by Night Running on Any Track
Against the Current of Traffic.
Lights at A A, showing green (or yellow) to the rear,
with a red light
on the platform or the cupola, as per Rule F-273, third
paragraph.

Danger—Stop!
Semaphores, which are in fact fixed signals, are used for stopping trains or allowing them to proceed with train under control or at full speed. They are placed at telegraph offices, yard limits and railroad crossings. They are also used for stopping or slowing trains to which train orders and messages may be addressed, and to keep trains running in the same direction the required time apart.
Strictly defined: “An apparatus for giving signals by the disposition of oscillating arms and lights.”

Caution.
Trains are governed by the right-hand arm and the light facing the train. When the arm is in a horizontal position the light appears “red”—meaning DANGER; when in an inclined diagonal position, the light appears “yellow”—CAUTION ; when vertical, the light appears “green” and is a signal to proceed at full speed.

Safety—Proceed.
1. Signals of prescribed form, the indications given by not more than three positions; by lights of prescribed color; or by both.
2. The apparatus so constructed that the failure of any part controlling the operation of a signal will cause it to display its most restrictive indication.
3. Signals located preferably over or upon the right* of and adjoining the track to which they refer. For less than three tracks signals for trains in each direction may be on the same signal mast.
*Where a railroad is operated with the current of traffic to the left the block signals may be placed upon the left.
4. Semaphore arms that govern, displayed to the ———* of the signal mast as seen from an approaching train.
*Right or left.
5. The normal indication of Home Block Signals—Stop.
The following may be used:
A. Distant Block Signals interlocked with Home Block Signals; normal indication—Caution.
C. Repeaters, audible or visible, to indicate the position of block signals to the signalman operating them.
D. The automatic release of block signals to display their most restrictive indication.
E. The locking of switches with block signals.
F. Track circuits.
H. Lock indicators for main track switches.
J. Take siding indicators.
K. Means of communication between block stations and outlying switches.
L. The locking of telegraph keys with block signals.
Note—The aspects shown are typical and may be given in any one of the other quadrants. Each road should show the aspects and colors of lights it uses.
|
The following signals will appear where conditions require their use. |
Requisites of Installation. Signal will appear when— |
|
301A.
INDICATION—STOP. |
Block is not clear. |
|
301C.
INDICATION—PROCEED. |
Block is clear. |
|
301G.
INDICATION—PROCEED WITH CAUTION |
Block is occupied. |
|
302A.
INDICATION—STOP. |
Block is not clear. |
|
302C.
INDICATION—PROCEED. |
Block is clear. |
|
303J.
INDICATION—APPROACH HOME SIGNAL |
Home signal is not clear. |
|
303K.
INDICATION—PROCEED. |
Home signal indicates proceed. |
Note to Rule 303—Where Distant Block Signals are not used Rule 303 will be omitted.
305. Block signals govern the use of the blocks, but, unless otherwise provided, do not supersede the superiority of trains; nor dispense with the use or the observance of other signals whenever and wherever they may be required.
306. When a block station is open at an irregular hour, trains must be notified by train order or by special instructions, and special precautions must be taken to call the attention of trains approaching such block station to the indications of the block signals.
311. The normal indication of Home Block Signals—Stop; of Distant Block Signals—Caution.
Note to Rule 311—Where Distant Block Signals are not used the words “of Distant Block Signals—Caution” will be omitted.
312. Signals must be operated carefully and with a uniform movement. If a signal fails to work properly its operation must be discontinued and the signal secured so as to display its most restrictive indication until repaired.
313. Signalmen must observe, as far as practicable, whether the indications of the signals correspond with the positions of the levers.
314. Signalmen must not make nor permit any unauthorized repairs, alterations or additions to the apparatus.
315. A block record must be kept at each block station.
Note to Rule 315—The different items to be entered on the block record have not been prescribed in this rule, but it has been left to each railroad to complete the rule by adding such items as may be necessary to meet the conditions governing its traffic.
316.
1—Display Stop-signal.
13—I understand.
17—Display Stop-signal. Train following.
2—Block clear.
3—Block wanted for train other than passenger.
36—Block wanted for passenger train.
4—Train other than passenger has entered block.
46—Passenger train has entered block.
5—Block is not clear of train other than passenger.
56—Block is not clear of passenger train.
7—Train following.
8—Opening block station. Answer by record of trains in the extended block.
9—Closing block station. Answer by 13.
When two or more tracks are used in the same direction, signalmen in using the communicating code must also specify the track.
Note to Rule 316—Additions to the communicating code may be made if desired. When the telephone is used the code will be used without the numerals.
317 A. To admit a train to a block, the signalman must examine the block record, and, if the block is clear, give “1 for ———” to the next block station in advance. The signalman receiving this signal, if the block is clear, must display the Stop-signal to opposing trains, and reply “2 for ———”. If the block is not clear, he must reply “5 of ———”, or “56 of ———”. The signalman at the entrance of the block must then display the proper signal indication.
A train must not be admitted to a block unless it is clear, except as provided in Rule 332 or by train order.
Note to Rule 317 A.—317 A is for absolute block for following and opposing movements on the same track.
317 B. To admit a train to a block, the signalman must examine the block record, and, if the block is clear, give “1 for ———” to the next block station in advance. The signalman receiving this signal, if the block is clear, must display the Stop-signal to opposing trains and reply “2 for ———”. If the block is not clear, he must reply “5 of ———”, or “56 of ———”. The signalman at the entrance of the block must then display the proper signal indication.
A train must not be admitted to a block which is occupied by an opposing train or by a passenger train except as provided in Rule 332 or by train order.
To permit a train to follow a train other than a passenger train into a block, the signalman must give “17 for ———” to the next block station in advance. The signalman receiving this signal, if there is no passenger train in the block, must reply “5 of ——— 13 for ———”. The approaching train will then be admitted to the block ———.*
Note to Rule 317 B.—Rule 317 B is for absolute block for opposing movements, and permissive block for following movements on the same track.
318 A. To admit a train to a block, the signalman must examine the block record, and, if the block is clear, give “3 for ———”, or “36 for ———”, to the next block station in advance. The signalman receiving this signal, if the block is clear, must reply “2 for ———”. If the block is not clear, he must reply “5 of ———”, or “56 of ———”. The signalman at the entrance of the block must then display the proper signal indication.
A train must not be admitted to a block unless it is clear, except as provided in Rule 332 or by train order.
Note to Rule 318 A.—Rule 318 A is for absolute block for following movements only.
318 B. To admit a train to a block, the signalman must examine the block record, and, if the block is not occupied by a passenger train, give “3 for ———”, or “36 for ———”, to the next block station in advance. The signalman receiving this signal, if the block is clear, must reply “2 for ———”. If the block is not clear, he must reply “5 of ———”, or “56 of ———”. The signalman at the entrance of the block must then display the proper signal indication.
A train must not be admitted to a block which is occupied by a passenger train, except as provided in Rule 332 or by train order.
A train may be permitted to follow a train other than a passenger train into a block ———.*
*Under Permissive-signal or with Permissive Card (Form C).
Note to Rule 318 B.—Rule 318 B is for permissive block for following movements only.
Note to Rules 317 A, 317 B, 318 A and 318 B.—Where it is desired that train dispatchers shall control the display of block signals, railroads may modify Rules 317 A, 317 B, 318 A and 318 B so as to provide for such practice.
319. When a train enters a block, the signalman must give “4 ———”, or “46 ———” and the time, to the next block station in advance, and when the train has passed the Home Block Signal and the signalman has seen the markers he must display the Stop-signal, and when the rear of the train has passed ——— feet beyond the Home Block Signal, he must give the record of the train to the next block station in the rear.
This information must be entered on the block records.
Note to Rules 317 A, 317 B, 318 A, 318 B and 319.—The blanks in Rules 317 A, 317 B, 318 A, 318 B and 319 are to be filled by the number or designation of the train, except as otherwise noted.
320. Unless otherwise provided, signalmen must not ask for the block until they have received a report of the train from the next block station in the rear.
321. Signalmen must observe all passing trains and note whether they are complete and in order, and the markers properly displayed.
322. Should a train pass a block station with any indication of conditions endangering the train, or a train on another track, the signalman must immediately notify the signalman at the next block station in advance, and each must display Stop-signals to all trains that may be affected, and must not permit any train to proceed until it is known that its track is not obstructed.
323. Should a train pass a block station without markers, the signalman must notify the signalman at the next block station in each direction, and must not report that train clear of the block until he has ascertained that the train is complete.
324. Should a train pass a block station in two or more parts, the signalman must stop all trains moving in the same direction and notify the signalman at the next block station in advance. A signalman having received this notice must stop all trains moving in the opposite direction. The Stop-signal must not be displayed to the engineman of the parted train if the train can be admitted to the block in advance under Block Signal Rules; but the Train-parted Signal must be given. Should a train in either direction be stopped, it may be permitted to proceed when it is known that its track is not obstructed.
325. A signalman informed of any obstruction in a block must immediately notify the signalman at the other end of the block and each must display Stop-signals to all trains that may be affected and must not permit any train to proceed until it is known that its track is not obstructed.
326. When a train takes a siding the signalman must know that it is clear of the block before giving 2 or displaying a Clear-signal for that block.
The signalman must obtain control of the block before permitting a train on a siding to re-enter the block.
327. To permit a train to cross over or return, unless otherwise provided, the signalman must examine the block record, and if all the blocks affected are clear of approaching trains he must arrange with the signalman at the next block station in each direction to protect the movement, and when the proper signals have been displayed permission may be given. Until the block is clear no train must be admitted in the direction of the cross-over switches except under Permissive-signal or with Permissive Card (Form C).
All cross-over movements must be entered on the block records.
328. When coupled trains are separated as prescribed by Rule 364, the signalman must regard each portion as an independent train.
329. If necessary to stop a train for which a clear or Permissive Home Block Signal has been displayed and accepted, the signalman must give hand signals in addition to displaying the Stop-signal.
330. A signalman having train orders for a train must display the block signal at Stop. He may permit trains so stopped to proceed under Block Signal Rules after complying with Rules for Movement by Train Orders.
331 A. If from the failure of block signal apparatus the block signal cannot be changed from the normal indication, a signalman, having information from the signalman at the next block station in advance that the block is clear, may admit a train to the block by the use of a Clearance Card (Form A).
Note to Rule 331 A.—Rule 331 A is for absolute block.
331 B. If, from the failure of block signal apparatus, the block signal cannot be changed from the normal indication, a signalman, having information from the signalman at the next block station in advance that the block is clear, may admit a train to the block by the use of a Clearance Card (Form A); if the block is occupied by a train, other than an opposing train or a passenger train, the signalman may admit a following train by the use of Permissive Card (Form C).
Note to Rule 331 B.—Rule 331 B is for permissive block.
332. If, from any cause, a signalman is unable to communicate with the next block station in advance, he must stop all trains approaching in that direction. Should no cause for detaining a train be known, it may then be permitted to proceed with Caution Card (Form B), provided ——— minutes have elapsed since the passage of the last preceding train.
333. Signalmen must have the proper appliances for hand signaling ready for immediate use. Hand signals must not be used when the proper indication can be displayed by the block signals, except as prescribed by Rule 329 or 343. When hand signals are necessary they must be given from such a place and in such a way that there can be no misunderstanding on the part of enginemen or trainmen as to the signals, or as to the train or engine for which they are given.
Note to Rule 333.—Hand signaling includes the use of lamp, flag, torpedo and fusee signals.
334. Block signals for a track apply only to trains moving with the current of traffic on that track. Signalmen will use ——— for blocking trains moving against the current of traffic.
Note to Rule 334.—Each railroad may fill in the blank in Rule 334 with the kind of signals that are to be displayed or with the form of card to be used by the signalmen.
335. Signalmen will be held responsible for the care of the block station, lamps and supplies; and, unless otherwise provided, of the signal apparatus.
336. Lights in block stations must be so placed that they cannot be seen from approaching trains.
337. Lights must be used upon all block signals from sunset to sunrise and whenever the signal indications cannot be clearly seen without them.
338. If a train overruns a Stop-signal, the fact must be reported to ———.
339. If a Stop-signal is disregarded, the fact must be reported to the next block station in advance and then to ———.
340. To open a block station the signalman must give 8 to the next block station in each direction and record the trains that are in the extended block. He must then display the normal signal indication and notify the next block station in each direction that the block station is open.
When trains, which were in the extended block when the block station was opened and which had passed his block station before it was opened, clear the block in advance he must repeat the record to the block station in the rear.
341. A block station must not be closed except upon authority of ———.
342. Unless otherwise provided, a block station must not be closed until the block in each direction is clear of all trains.
To close a block station, the signalman must give 9 to the next block station in each direction, and when he receives 13 enter it on his block record, with the time it is received from each block station.
The block signals must then be ———, all lights extinguished and the block wires arranged to work through the closed block station.
343. When a block station is open at an irregular hour, signalmen must use hand signals, in addition to block signals, to give the required indications until all trains have passed which have not been notified by train order or by special instructions that the block station is open. Signalmen must take special precautions to call the attention of trains approaching the block station to the indications of the block signals.
344. Signalmen must not permit unauthorized persons to enter the block station.
361. Block signals for a track apply only to trains moving with the current of traffic on that track. ——— will be used for blocking trains moving against the current of traffic.
Note to Rule 361.—Each railroad may fill in the blank in Rule 361 with the kind of signals that are to be displayed or the form of card to be used by the signalmen.
362. Trains must not pass a Stop-signal without receiving Clearance Card (Form A), Caution Card (Form B), Permissive Card (Form C), or train order authorizing them to do so.
363. Trains must not proceed on hand signals as against block signals.
364. Unless otherwise directed, when two or more trains have been coupled and so move past any block station, they must be separated only at a block station and the signalman notified.
365. When a train takes a siding it must not again enter the block without the permission of the signalman.
A train having passed beyond the limits of a block must not back into that block without permission from the signalman.
366. Unless otherwise provided, when it is necessary for a train to cross over, the signalman must be notified and permission obtained before crossing over or returning.
367. The engineman of a train which has parted must sound the whistle signal for Train-parted when approaching a block station.
368. An engineman receiving a Train-parted signal from a signalman must answer by the whistle signal for Train-parted.
369. When a parted train is recoupled the signalman must be notified.
370. If there is an obstruction between block stations notice must be given to the nearest signalman.
371. If a train is stopped by a block signal the conductor and engineman must immediately ascertain the cause.
372. Conductors must report to ——— any unusual detention at block stations.
373. A block station must not be considered as closed, except as provided for by time-table or special instructions.




Note.—The rules by which the Controlled Manual Block System is governed are similar to those governing the Manual Block System, except when a signalman desires to admit an approaching train to a block, he must have the next signalman in advance unlock the block signal in the rear before a clear or caution block signal can be displayed.
1. Signals of prescribed form, the indications given by not more than three positions; by lights of prescribed color; or by both.
2. The apparatus so constructed that the failure of any part controlling the operation of a signal will cause it to display its most restrictive indication.
3. Signals located preferably over or upon the right* of and adjoining the track to which they refer.
*Where a railroad is operated with the current of traffic to the left the block signals may be placed upon the left.
4. Semaphore arms that govern, displayed to the ———* of the signal mast as seen from an approaching train.
*Right or left.
6. Continuous track circuits.
7. Signal connections and operating mechanism so arranged that a Home Block Signal will display its most restrictive indication after the front of a train shall have passed it.
8. Switches in the main track so connected with the block signals that the Home Block Signal in the direction of approaching trains will display its most restrictive indication when the switch is not set for the main track.
The following may be used:
A. Distant Block Signals connected with corresponding Home Block Signals.
J. Take Siding indicators.
S. Switch indicators for main track switches.
T. Automatic and Train Order Signals interconnected.
501.
| Signal. | Occasion for Use. | Indication. | Name. |
| Color. | The signal will appear when | For enginemen and trainmen. | As used in rules. |
| (a) Red. | Block is not clear. | Stop. | Stop-signal. |
| (b) Yellow. |
Block is clear. Second block in advance is not clear. |
Approach next home signal prepared to stop. | Caution-signal. |
| (c) Green. | Block is clear. | Proceed. | Clear-signal. |
Where the semaphore is used the indications are given by positions:
Horizontal as the equivalent of (a).
Diagonal ———* as the equivalent of (b).
Vertical or Diagonal ———* as the equivalent of (c).
*Angle above or below the horizontal.
Where a single disc is used for two indications these are given by position of a ——— (color) disc as seen from an approaching train:
Disc displayed as the equivalent of (a).
Disc withdrawn as the equivalent of (c).
When Distant Block Signals are used the following should be added to Rule 501:
| Signal. | Occasion for Use. | Indication. | Name. |
| Color. | The signal will appear when | For enginemen and trainmen | As used in rules. |
| (d) Yellow | Home signal is at (a) or track obstructed between distant and home signal. | Proceed with caution to the home signal. | Caution-signal. |
| (e) Green | Home signal is at (c). | Proceed. | Clear-signal. |
Note to Rule 501.—Each road will suit its own requirements as to kind of signals and color of lights used.
Where the semaphore is used, the governing arm is displayed to the right of the signal mast as seen from an approaching train, and the indications are given by positions:
Horizontal as the equivalent of (d).
Vertical or Diagonal ——— (angle above or below the horizontal) as the equivalent of (e).
Where a single disc is used for two indications these are given by position of a ——— (color) disc as seen from an approaching train:
Disc displayed as the equivalent of (d).
Disc withdrawn as the equivalent of (e).
505. Block signals govern the use of the blocks, but, unless otherwise provided, do not supersede the superiority of trains; nor dispense with the use or the observance of other signals whenever and wherever they may be required.
506. Lights must be used upon all block signals from sunset to sunrise and whenever the signal indications cannot be clearly seen without them.
508. Block signals for a track apply only to trains moving with the current of traffic on that track.
509. When a train is stopped by a Stop-signal it must stay until authorized to proceed, or in case of failure of means of communication it may proceed when preceded by a flagman to the next signal displaying a proceed indication.
When a train is stopped by a Stop and Proceed-signal it may proceed—
(A) On single track ———.
(B) On two or more tracks at once at slow speed, expecting to find a train in the block, broken rail, obstruction or switch not properly set.
510. When a train is stopped by a block signal which is evidently out of order, and not so indicated, the fact must be reported to ———.
511. Both switches of a cross-over must be open before a train starts to make a cross-over movement, and the movement must be completed before either switch is restored to normal position.
512. Where switch indicators are used, the indications displayed do not relieve enginemen and trainmen from protecting their train as required by the rules.
Note to Rule 512.—Where switch indicators are not used Rule 512 will be omitted.
1. Signals of prescribed form, the indications given by not more than three positions; by lights of prescribed color; or by both.
2. The apparatus so constructed that the failure of any part controlling the operation of a signal will cause it to display its most restrictive indication.
3. Signals located preferably over or upon the right of and adjoining the track to which they refer.*
*Where a railroad is operated with the current of traffic to the left the interlocking signals may be placed upon the left.
4. Semaphore arms that govern, displayed to the ———* of the signal mast as seen from an approaching train.
*Right or left.
5. The normal indication of Home Signals—Stop.
9. Latch locking, or its equivalent.
10. Interlocked levers, or their equivalent, by which switches, locks and signals are operated.
12. The interlocking of switches, locks, railroad crossings, drawbridges and signals through levers, or their equivalent.
13. Locks for all switches.
14. Detector bars, or their equivalent, for all interlocked switches.
15. Pipe, or its equivalent, compensated for changes in temperature, in mechanical interlocking, for connecting levers, with switches and locks.
16. The interlocking of signals with switches, locks, railroad crossings, or drawbridges, so that a signal permitting a train to proceed cannot be displayed unless the route to be used is set and Stop-signals displayed for all conflicting routes.
17. The established order of interlocking such that:
A signal permitting a train to proceed cannot be displayed until the switches in the route to be set are in position and locked; derails, if any, in conflicting routes set to diverge and all opposing or conflicting signals display their most restrictive indication. The display of a signal to proceed shall lock the arrangement.
18. Interlocking and Block Signals, interconnected, where both are operated from the same station.
The following may be used:
A. Distant Signals interlocked with Home Signals; normal indication—Caution.
B. Dwarf Signals; normal indication—Stop.
C. Repeaters, audible or visible, to indicate the position of signals to the signalman operating them.
E. The locking of switches by signals.
F. Track Circuits.
G. Annunciators indicating the approach of a train, or for other purposes.
J. Take siding indicators.
M. Electric locking of derails, facing point switches and drawbridges so that they cannot be opened after a train has passed the clear Distant Signal until the train has passed over them.
N. Derails, or diverging switches, for railroad crossings, drawbridges, junctions, and in sidings connected with the running tracks; normal position—Open.
O. Detector bars, or their equivalent, at railroad crossings and junctions.
P. Route Indicators.
Q. Torpedo Placers.
R. Time releases.
601.
| Signal. | Occasion for Use. | Indication. | Name. |
| Color. | The signal will be displayed when | For enginemen and trainmen | As used in rules. |
| (a) Red. | Route is not clear. | Stop. | Stop-signal. |
| (b) Green or white. | Route is clear. | Proceed. | Clear-signal. |
Where the semaphore is used, the governing arm is displayed to the right of the signal mast as seen from an approaching train, and the indications are given by positions:
Horizontal as the equivalent of (a).
Vertical or Diagonal ———* as the equivalent of (b).
*Angle above or below the horizontal.
Where distant signals are used, the horizontal position of the arm, or yellow light, indicates caution, or proceed to home signal expecting to find it at Stop. Vertical position of the arm, or green light, indicates Proceed, home signal at Clear.
Note to Rule 601.—Each road will suit its own requirements as to kind of signals used and color of lights.
605. Interlocking signals govern the use of the routes of an interlocking plant, and as to movements within Home Signal limits, their indications supersede the superiority of trains, but do not dispense with the use or the observance of other signals whenever and wherever they may be required.
611. The normal indication of Home Signals—Stop; of Distant Signals—Caution.
Note to Rule 611.—Where Distant Signals are not used the words “of Distant Signals—Caution” will be omitted.
612. Levers, or other operating appliances, must be used only by those charged with that duty and as directed by the rules.
613. When the route is set the signals must be operated sufficiently in advance of approaching trains to avoid delay.
614. Signals must be restored so as to display their most restrictive indication as soon as the train or engine for which they were cleared has passed ———.
615. If necessary to change any route for which the signals have been cleared for an approaching train or engine, switches must not be changed or signals cleared for any conflicting route until the train or engine, for which the signals were first cleared, has stopped.
616. A switch, or lock, must not be moved when any portion of a train or an engine is standing on or closely approaching the switch, detector bar or circuit.
617. Levers must be operated carefully and with a uniform movement. If any irregularity, indicating disarranged connections, is detected in their working, the signals must be restored so as to display their most restrictive indication and the connections examined.
618. During cold weather the levers must be moved as often as may be necessary to keep connections from freezing.
619. During storms or while snow or sand is drifting special care must be used in operating switches. If the force whose duty it is to keep the switches clear is not on hand promptly when required, the fact must be reported to ———.
620. If a signal fails to work properly its operation must be discontinued and until repaired the signal secured so as to display its most restrictive indication.
621. Signalmen must observe, as far as practicable, whether the indications of the signals correspond with the positions of the levers.
622. Signalmen must not make nor permit any unauthorized repairs, alterations or additions to the plant.
Any defects in the interlocking plant must be promptly reported to the ———.
623. If there is a derailment or if a switch is run through, or if any damage occurs to the track or interlocking plant, the signals must be restored so as to display their most restrictive indication, and no train or switching movement permitted until all parts of the interlocking plant and track liable to consequent injury have been examined and are known to be in a safe condition.
624. If necessary to disconnect a switch, derail, detector bar, or its equivalent, or a lock, all switches or derails affected must be safely secured.
625. When switches or signals are undergoing repairs, signals must not be displayed for any movements which may be affected by such repairs, until it has been ascertained from the repairmen that the switches are properly set for such movements.
626. Signalmen must observe all passing trains and note whether they are complete and in order; should there be any indication of conditions endangering the train, or any other train, the signalman must take such measures for the protection of trains as may be practicable.
627. If a signalman has information that an approaching train has parted he must, if possible, stop trains or engines on conflicting routes, clear the route for the parted train, and give the Train-parted signal to the engineman.
628. Signalmen must have the proper appliances for hand signaling ready for immediate use. Hand signals must not be used when the proper indication can be displayed by the interlocking signals. When hand signals are necessary they must be given from such a place and in such a way that there can be no misunderstanding on the part of enginemen or trainmen as to the signals, or as to the train or engine for which they are given.
Note to Rule 628.—Hand signaling includes the use of lamp, flag, torpedo, and fusee signals.
629. If necessary to discontinue the use of any interlocking signal, hand signals must be used and ——— notified.
630. Signalmen will be held responsible for the care of the interlocking station, lamps and supplies; and, unless otherwise provided, of the interlocking plant.
631. Lights in interlocking stations must be so placed that they cannot be seen from approaching trains.
632. Lights must be used upon all interlocking signals from sunset to sunrise and whenever the signal indications cannot be clearly seen without them.
633. If a train or engine overruns a Stop-signal, the fact must be reported to ———.
634. Signalmen must not permit unauthorized persons to enter the interlocking station.
661. If a signal, permitting a train to proceed, after being accepted, is changed to a Stop-signal before it is reached, the stop must be made at once. Such occurrence must be reported to ———.
662. Trains or engines must not pass a signal indicating stop, except as provided in Rule 663.
663. Trains or engines must not proceed on hand signals as against interlocking signals until enginemen and trainmen are fully informed of the situation and ———.
664. The engineman of a train which has parted must sound the whistle signal for Train-parted on approaching an interlocking plant.
665. An engineman receiving a Train-parted signal from a signalman must answer by the whistle signal for Train-parted.
666. When a parted train has been re-coupled the signalman must be notified.
667. Sand must not be used over movable parts of an interlocking plant.
668. Conductors* must report to ——— any unusual detention at interlocking plants.
*Or enginemen of yard engines.
669. Trains or engines stopped by the signalman in making a movement through an interlocking plant, must not move in either direction until they have received the proper signal from him.
670. A reverse movement within the limits of an interlocking plant, or a forward movement after making a reverse movement, must not be made without the proper interlocking signal or permission from the signalman.
681. Repairmen are responsible for the inspection, adjustment and proper maintenance of all the interlocking plants assigned to their care.
682. When the condition of switches or track does not admit of the proper operation or maintenance of the interlocking plant, the fact must be reported to ———.
683. When any part of an interlocking plant is to be repaired a thorough understanding must first be had with the signalman, in order to secure the safe movement of trains and engines during repairs. The signalman must be notified when the repairs are completed.
684. If necessary to disconnect a switch, derail, detector bar, or its equivalent, or a lock, all switches or derails affected must be safely secured before any train or engine is permitted to pass over them.
685. Alterations or additions to an interlocking plant must not be made unless authorized by ———.
Note.—The person examined must be able to repeat the definitions, must be familiar with hand, flag and lamp signals, whistle signals, torpedo and fusee signals, and must know how and when to use them.
Q. Is a station track a siding for meeting or passing trains? A. Not unless it has been so designated.
Q. Where is it designated? A. On the time-table.
Q. Are main tracks ever part of a yard? A. Only when there are yard limit boards defining such limits.
Q. May yard engines occupy the main track in a yard where there are no yard limit boards? A. Only as an extra by train orders.
Q. Does the pilot relieve the trainmen of responsibility, and does pilot have to sign train orders? A. They are not relieved of responsibility, and the pilot signs orders.
Q. What is the standard time, and what time is it received over the wire? A. Ninetieth meridian or central time, and is transmitted over the wire at 11 A.M. daily except Sunday.
Q. When only one time is shown on a time-table, what does it indicate? What, when two times are shown? A. One time shown indicates the leaving time, and two times shown indicate the arriving and leaving time.
Q. What are schedule meeting and passing points indicated by, and how are the numbers of trains shown on time-table at meeting and passing points? A. Meeting and passing points are indicated by full-faced type, and the numbers of the trains to be met or passed will be shown in small type adjoining the full-faced type.
Q. What letters are used on time-table to indicate regular and flag stops for trains? A. S for regular stop and F for flag stop.
Q. What is required of employes whose duties necessitate giving signals? A. Provide themselves with red, green and white flags, combined green and white flag, and the same in lamps, keep them in good order and ready for immediate use.
Q. From what side of the track do you signal a train, and on what rail would you place torpedoes? A. Engineman’s side.
Q. What are the decorations for a yard engine? A. Display a headlight to the front and rear by night; if no headlight at the rear two white lights must be displayed.
Q. Do they display classification signals and markers? A. No.
Q. When two or more engines are coupled together, which display classification signals? A. All engines.
Q. Would one flag or light displayed where two are prescribed indicate the same as two? A. Yes.
Q. What does a blue flag by day or a blue light by night, displayed at one or both ends of an engine, car or train, indicate? A. Indicates that workmen are at work in or about the engine, car or train, and the same must not be moved or coupled to, until signal is removed.
Q. What does the absence of or the imperfect display of a signal indicate and how acted upon? A. Stop and report to the Superintendent.
Q. What is a combined green and white signal used for? A. To stop a train only at flag stations.
Q. When it is necessary to stop a train at a point which is not a flag stop for that train, what kind of a signal must be given? A. Red signal, as the train would not pay any attention to the green and white signal.
Q. Should torpedoes be placed near stations, road crossings, or in yards where persons are liable to be injured by them? A. No.
Q. Is there any superiority between passenger extra, freight extra, or work extra? A. No.
Q. Can there be superiority by direction on double track? A. No; it is limited to single track.
Q. Which direction is superior? A. Eastward and northward.
Q. When does a train lose its right? A. When it is twelve or more hours late.
Q. May a train arrive at a station in advance of its scheduled arriving time? A. No.
Q. May it leave in advance of its scheduled leaving time? A. No.
Q. Does a train which falls back upon the time of another train of the same class lose its rights, and how does it proceed? A. No; proceeds on its own schedule.
Q. When signals are taken down on single track at any point before the following section arrives, what must the conductor and operator do? A. Notify in writing all opposing trains of the same or inferior class leaving such point that the section for which the signals were displayed has not arrived, unless instructed otherwise by the dispatcher.
Q. Do you understand that messages or orders respecting the movement of trains, or the condition of the track or bridges, must be in writing? A. Yes.
Q. What track do trains use while running on double track? A. On most railroads they keep to the right.
Q. What signal must dispatcher use to indicate train orders and tell the operator what form to use? A. 31 or 19, with number of copies required if more or less than three copies.
Q. If you do not take the requisite number of copies of an order at one writing, what do you do? A. Make others from one of the copies previously made, and repeat to the train dispatcher from the new copies each time additional copies are made.
Q. Do you listen to operators repeating orders, and how? A. Yes; by checking the lowest copy.
Q. What is the “X” response? A. An acknowledgment of a train order. Red signal must be displayed until the order is completed and delivered.
Q. When a train is stated in an order by its schedule number alone what does it indicate? A. All of the sections are included.
Q. Is the operator responsible for the delivery of a copy of an order to all sections, whether he has enough copies or not? A. Yes.
Q. What action would you take about repeating or giving the “X” response on an order addressed to a train, the engine of which has passed your block signal? A. Would not “X” or repeat the order until I had notified trainmen and obtained the signatures of the conductor and engineman to the order.
Q. Would you accept an order for a train if you were in doubt as to whether or not it had passed? A. No.
Q. Train orders once in effect continue so how long? A. Until fulfilled, annulled or superseded.
Q. When a freight train is running on the irregular track at night, how should his markers show? A. Green to the front and sides, and to the rear a green light next to the regular track and a red light on the opposite side.
Q. What position is the governing arm of semaphore in as seen from the approaching train? A. To the right of the signal mast.
Q. What are the different positions and what do they indicate? A. Horizontal, Stop. Vertical, Proceed. Diagonal, Caution.
Q. What are the instructions about operating signals? A. Handle carefully and with uniform movement.
Q. Do you observe whether the indications of signals correspond with position of levers? A. Yes, when practicable.
Q. Are you permitted to make any alterations or additions to the apparatus? A. Not unless authorized by proper party.
Q. Do you keep a record of trains at your office and the adjoining office in each direction, also record of crossover movements? A. Yes.
Q. What do opposing and following movements only mean? A. For single track movement.
Q. What does absolute block for following movements only mean? A. For double track movement, with only one train in the block at a time.
Q. What does permissive block for following movements only mean? A. For double track movement with two or more trains allowed in the block at the same time.
Q. When a train enters the block how do you proceed to report it according to rules? A. Report to station in advance first, then to station in rear.
Q. What is the rule in regard to using Signal 1 or 3 before receiving Signal 4 from block station in rear? A. Do not use 1 or 3 until you receive 4.
Q. Do you observe all trains to see whether train is complete? A. Yes.
Q. If a train passes with no markers displayed, what would you infer and what action would you take? A. That train had parted, and notify block stations on each side and report same to dispatcher.
Q. If you are notified by next block station in either direction that a train which has entered block has parted, what would you do? A. Make every effort to display a clear block signal and give “train-parted” signal to engineer as front portion approaches.
Q. If a train enters siding at your station or crosses over to be met or passed by another train, what must you know before reporting the block clear? A. That the markers on rear of train are clear of main track and that the switch is closed.
Q. Do trainmen have to ask permission to cross over or pull out of siding on main track? A. Yes.
Q. When trains coupled together have been separated between stations, do you regard each portion as an independent train? A. Yes.
Q. If necessary to stop a train for which clear or caution signal has been displayed, what signal would you use in addition to stop signal? A. Use hand signal.
Q. What is the proper signal and where placed when you have orders for a train? A. Red flag or red lamp for 31 orders; green flag or green lamp for 19 orders; placed on side of signal mast.
Q. What would be done in case you could not raise next block station for block or could not raise the dispatcher? A. Stop all trains approaching in that direction and make every effort possible to communicate with the dispatcher before allowing the train to proceed according to Rule 332.
Q. Do you ever give signals by hand when the same may be given by fixed signals? A. No.
Q. Who is responsible for the care of the block station, lamps, supplies and signal apparatus? A. The operator, unless otherwise provided.
Q. Is it necessary to conceal lights in block office so trains cannot see them? A. Yes.
Q. When do you light your block signal lights? A. Sunset to sunrise, and whenever the signals cannot be seen without them.
Q. What would you do if a train overruns a stop signal? A. Report to superintendent.
Q. If a stop signal is disregarded, what would you do? A. Report to next block station in advance and then to the superintendent.
Q. What must be done when an office is opened? A. Report to dispatcher and notify the block stations on each side, using Signal 8.
Q. Would you close your block office without receiving authority from the dispatcher? A. No.
Q. How would you arrange to close a block office? A. Use Signal 9 and get 2 for trains which have been admitted to the block in each direction, get permission to leave from dispatcher, secure block signals in clear position, and arrange wires to work through.
Q. What are instructions about trains coupled, arranging to uncouple on the block? A. Must be uncoupled only at a block station and signalman notified.
Q. If you give a train a “train-parted” signal, how would engineer answer it? A. By three long blasts of the whistle.
Q. Do trainmen notify operators when parted train has been recoupled? A. Yes.
Q. What would trainmen do at block station on double track where the operator was absent, so that instructions could not be obtained? A. Wait five minutes and proceed with caution to next block station and report to superintendent.
Q. If track is obstructed between block stations, what is required of trainmen? A. Notice given to the nearest block office.
Q. When a clear signal is given, how far does it indicate that block is clear? A. To next block station ahead.
Q. What record of movements of trains is kept and what time must the record commence? A. A record of train movements should be kept on a train register sheet and commenced at midnight.
Q. Do dwarf interlocking signals govern running tracks in their reverse directions? A. Yes.
Q. How do you arrange the block for a train that wants to back out after train met has passed on single track? A. Ask office in rear “1” for No. — to back out and let them do so as soon as the train has passed.
Q. How do you distinguish freight from passenger trains as referred to in block rules? A. By their equipment.
Q. What is a positive or absolute block? A. A block where there is only one train allowed at a time.
Q. What is a permissive block? A. A block where two or more trains are allowed at a time.
Q. If you had an order addressed to No. 16 and before delivery is made a new time-table takes effect, and there is no corresponding number on the new time-table, what would you do? A. The order would be void, and I would file it.
Q. When is it proper for an operator to report a train as by him? A. When the markers have passed the office 100 yards.
Q. Do you return your block signal to normal position from clear before displaying caution for a train? A. Yes.
Q. What danger is there in sending the signature of an order to the dispatcher before it has been signed by the conductor and engineer? A. It is not only a violation of the rules, but unsafe, as the operator may overlook delivering all orders he holds for a train, or while the train is held at his station it may be necessary to place it on a siding before conductor and engineer have signed the order, and if operator signs for conductor and engineer, or gives the signature before it is signed, the train may not be in clear and a collision result before the train crew are aware that their rights have been taken away from them.
Commercial telegraph companies are those used by the public for the transaction of their business by telegraph.
The Western Union and Postal Telegraph companies are the largest two commercial companies in this country. There are but few others.
The places given in the list of offices in the Tariff Book, before the names of which there are numbers in the column headed “SQ”, are “this line” offices.
“Other line” telegraph offices—i.e., offices on lines owned or operated by other than this company, are designated by single stars, thus:
*Climax (Ala.).
Stations, places, establishments or institutions to which messages are delivered from nearest telegraph offices are designated by two stars, thus:
**Avondale (Ala.).
Places to which messages are transmitted by telephone from the nearest telegraph offices are designated by three or four stars, thus:
***Alexandria (Ala.).
****Allenville (Ala.).
A three star station is one where there is no agent or representative of the telegraph company. A four star station is one where there is an agent of the telegraph company, for the delivery of messages to and the acceptance of messages from non-telephone subscribers.
The points at which messages originating at “other line” telegraph offices should be transferred to this company are shown in the Tariff Book immediately after the names of such “other line” points. For example:
*Climax 30-2.5 York.
This indicates that York is the proper place of transfer for messages originating at Climax.
The numbers under the heading “SQ” (Square) denote the squares in which “this line” offices are located.
In addition to a Tariff Book, each office should have a Tariff sheet showing Square and State rates. The Tariff sheet should be placed where it will be preserved, and where it can easily be referred to.
The exceptions to the Square or State rates are given by special instructions, and are to be used in accordance therewith.
(a.) Telegrams (Full rate messages):
Accepted at any hour for immediate transmission.
(b.) Night messages:
Accepted up to two o’clock a.m. for delivery not earlier than the morning of the next ensuing business day.
(c.) Day Letters:
Accepted and forwarded as deferred service subordinate to the priority of transmission and delivery of full rate telegrams. Must be written in plain English; code language not admitted.
(d.) Night Letters:
Accepted up to two o’clock a.m. for delivery on the morning of the next ensuing business day. Must be written in plain English, code language not admitted.
(e.) Press Dispatches:
Complete instructions and rates in back of Tariff Book.
(f.) Commercial News Service:
Market quotations and reports, baseball and other news furnished by messenger, private wire or ticker.
(g.) Marine Service:
Report of the arrival of steamships.
(h.) Money Transfer Service:
Money is transferred by telegraph from and to offices especially designated to handle the service.
(i.) Time Service:
Electrical synchronizing clocks furnished to subscribers at certain monthly rental.
(j.) Messenger Service:
At offices where messengers are employed, messengers are furnished for the delivery of notes, packages, etc., on distance or hourly basis at rates depending upon local conditions.
(k.) Cablegrams:
(1.) Cable Letters:
(m.) Week End Letters:
(n.) Deferred Cablegrams:
(o.) Wireless Messages:
(p.) Government Messages:
Accepted in accordance with existing instructions as printed in the Tariff Book.
To ascertain the rate for a full rate telegram or a night message to a “this line” office, note first the number, if any, of the Square before the name of the office, and then refer to the sheet showing Square and State rates; if there be a Square rate to the number noted, which is lower than the State rate to the State, Territory or Province in which the office is situated, then the Square rate will be the rate desired; but if there be no Square rate to that number, or if the Square rate given be higher than the State rate, then the State rate will be the rate desired. Where a notation of instruction to check with some other office follows the name of an office, such notation will not make the rate the same as to the checking office; when that is intended the notation will be found to read “Tariff same as and check”, or “Tariff same as”.
The “night message” rate to a “this line” office is given on the Tariff sheet of Square and State rates.
Night messages to “one”, “two”, “three” and “four star” points may be accepted at night message rate for “this line”, and full rate, or night message rate, if there be one, for “other line”.
Those of the “one”, “two”, “three” or “four star” points for which night message rates have been established are indicated by the letter (N.), followed by the “other line” rate for night messages. See Henderson (Arkansas).
The rate for a Day Letter of fifty words or less to a “this line” office, is one and one-half times the rate for a ten-word full-rate telegram, and one-fifth of the fifty-word rate shall be charged for each additional ten words or less.
Those of the “one star”, “three star” and “four star” stations for which Day Letter rates apply on both “this line” and “other line” are indicated in the Tariff Book by the letter (L.) following the names of the places. For example: *Demorest (L.) 30-2.5 Cornelia. If the “this line” rate to Cornelia be 60-3.5, the rate for a fifty-word day letter to Demorest is determined by adding 30 cents to 60 cents and multiplying the result by 1½; i.e., the Day Letter rate is $1.35 for 50 words and 27 cents (one-fifth of $1.35) for each additional 10-word group. To stations not designated by the letter (L.) the rate for Day Letters will be Day Letter rate for “this line”, plus regular telegram rate for “other line”.
The rate for a Night Letter of fifty words or less to a “this line” office is exactly equal to the rate on a ten-word full-rate telegram; and one-fifth of the fifty-word rate shall be charged for each additional ten words or less.
Those of the “one star,” “three star” and “four star” stations for which Night Letter rates apply on both “this line” and “other line”, are indicated in the Tariff Book by the letters (L.) or (N.L.) following the names of the places. For example: *Furnace. (N.L.) 15-1 Lexington. If the “this line” rate to Lexington be 30-2.5, the rate for a Night Letter to Furnace is 45 cents for 50 words and 9 cents for each additional 10-word group. To stations not designated (L.) or (N.L.) the rate for Night Letters will be Night Letter rate for “this line”, plus regular rate for “other line”.
With the name of each “other line” point will be found the “other line” rate beyond the transfer point. To ascertain the rate to an “other line” office, add the “other line” rate beyond the transfer point to the “this line” rate to the transfer point. For example:
*Altaville (Calif.) 60-5 Sonora.†
The day rate to Altaville is the “this line” rate to Sonora plus the “other line” rate (sixty cents for ten words or less and five cents for each word over ten) from Sonora to Altaville.
†The name of Sonora’s State is not given, for the reason that it is the same as that of Altaville. Where the State in which the connecting office is situated is not the same as that of the “other line” office, it will be found printed with the name of the connecting office.
Where the figure 0 appears as the additional word rate in “other line” rates, it means that there is no charge for additional words and hence the figure before the dash (e.g., the figure 25 in an “other line” rate of 25-0) designates a flat “other line” rate of that amount for all messages, no matter how long and irrespective of whether they are full day rate messages, night messages, day letters or night letters.
Where two or more “other line” rates are given, as in the case of the Canadian Provinces, two or more routes, for messages to the “other line” point, are thereby indicated. In such cases, the route giving the lowest combined rate should be chosen.
To telephone subscribers at many “two star” and “three star” points messages are delivered free of charge. This is indicated by the abbreviation “Sub. free” (Subscribers free). See Bellamy (Alabama). Where an additional charge is required for those who are not telephone subscribers, it is given either with the name of the station, as in the case of Bellamy; or, where it has not been ascertained or is a variable charge, it is collected from the addressee, as in the case of Canton Junc., Mass.
When the Tariff Book specifies or the sender directs that delivery at destination shall be made by mail, no charge should be made for postage.
|
To Squares in this column |
To Squares in this column |
To Squares in this column |
|
30—2.5 Day 24—1.5 Night |
36—2.5 Day 30—1.5 Night |
48—3.5 Day 36—1.5 Night |
|
248 260 261 272 273 274 284 285 302 313 314 325 326 327 338 339 351 |
225 236 237 247 249 259 262 283 286 315 337 340 350 352 362 363 375 |
213 224 235 238 246 250 271 275 300 324 328 349 353 361 364 374 376 388 389 402 |
Note.—Use Square rate when lower than State rate. When the Square rate is higher than the State rate, or when there is no Square rate, use State rate.
| STATE RATES FROM INDIANA | RATE | |
|
To be used when less than Square rates. See Note, page *. |
Day | Night |
|
Alabama |
72— 5 120—8.5 60—3.5 110— 7 120—8.5 120—8.5 72— 5 60—3.5 60—3.5 60—3.5 72— 5 60—3.5 72— 5 120—8.5 48—3.5 60—3.5 30—2.5 42—2.5 60—3.5 72— 5 42—2.5 60—3.5 72— 5 60—3.5 65— 4 60—3.5 60—3.5 48—3.5 60—3.5 60—3.5 60—3.5 72— 5 48—3.5 60—3.5 90— 6 60—3.5 72— 5 120—8.5 65— 4 60—3.5 60—3.5 90— 6 48—3.5 60—3.5 60—3.5 72— 5 65— 4 42—2.5 48—3.5 72— 5 55— 4 120—8.5 48—3.5 60—3.5 55— 4 60—3.5 72— 5 72— 5 60—3.5 90— 6 72— 5 90— 6 60—3.5 60—3.5 120—8.5 60—3.5 60—3.5 72— 5 |
48—1.2 60—2.4 42—1.2 90— 6 60—2.4 60—2.4 48—1.2 42—1.2 42—1.2 42—1.2 48—1.2 42—1.2 48—1.2 60—2.4 36—1.2 42—1.2 24—1.2 30—1.2 42—1.2 48—1.2 30—1.2 42—1.2 48—1.2 42—1.2 50— 3 42—1.2 42—1.2 36—1.2 42—1.2 42—1.2 42—1.2 48—1.2 36—1.2 42—1.2 54—2.4 42—1.2 48—1.2 60—2.4 50— 3 42—1.2 42—1.2 54—2.4 36—1.2 42—1.2 42—1.2 48—1.2 50— 3 30—1.2 36—1.2 48—1.2 45— 3 60—2.4 36—1.2 42—1.2 45— 3 42—1.2 48—1.2 48—1.2 42—1.2 54—2.4 48—1.2 54—2.4 42—1.2 42—1.2 60—2.4 42—1.2 42—1.2 48—1.2 |
The words “North”, “South” and “West” refer to places so marked in Tariff Book (see Michigan, California and Texas pages).